Промышленная Сибирь Ярмарка Сибири Промышленность СФО Электронные торги НОУ-ХАУ Электронные магазины Карта сайта
 
 

Поиск патентов

Как искать?
Реферат
Название
Публикация
Регистрационный номер
Имя заявителя
Имя изобретателя
Имя патентообладателя

    





Оформить заказ и задать интересующие Вас вопросы Вы можете напрямую c 6-00 до 14-30 по московскому времени кроме сб, вс. whatsapp 8-950-950-9888

На данной странице представлена ознакомительная часть выбранного Вами патента

Для получения более подробной информации о патенте (полное описание, формула изобретения и т.д.) Вам необходимо сделать заказ. Нажмите на «Корзину»


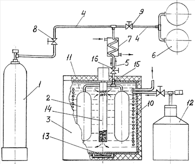
ТЕРМОКОМПРЕССИОННОЕ УСТРОЙСТВО

Номер публикации патента: 2363860

Вид документа: C1 
Страна публикации: RU 
Рег. номер заявки: 2008102266/06 
  Сделать заказПолучить полное описание патента

Редакция МПК: 
Основные коды МПК: F04B019/24   F04B037/00    
Аналоги изобретения: SU 1229421 A1, 07.05.1986. SU 1225915 A, 23.04.1986. US 4281969 A, 04.08.1981. US 1630943 A, 31.05.1927. US 3195806 A, 20.07.1965. 

Имя заявителя: Открытое акционерное общество "Ракетно-космическая корпорация "Энергия" имени С.П. Королева" (RU) 
Изобретатели: Банин Виктор Никитович (RU)
Гореликов Владимир Иванович (RU) 
Патентообладатели: Открытое акционерное общество "Ракетно-космическая корпорация "Энергия" имени С.П. Королева" (RU) 

Реферат


Изобретение относится к области компрессионных термических устройств (термокомпрессоров). Термокомпрессионное устройство содержит источник газа высокого давления, баллоны-компрессоры, устройство для термоциклирования баллонов-компрессоров, баллоны потребителя, теплообменник-охладитель, магистраль, трубопровод и пускоотсечные устройства. К магистрали, соединяющей источник газа высокого давления с баллонами потребителя, между установленными на ней первым и вторым пускоотсечными устройствами подключен одним концом трубопровод. Другой конец трубопровода подключен к баллонам-компрессорам. На трубопровод установлен теплообменник-охладитель. Между теплообменником-охладителем и устройством термоциклирования установлено третье пускоотсечное устройство. Техническим результатом является обеспечение перекачки газа из баллонов-потребителя в баллоны газа высокого давления и повышение экономичности. 1 ил.

Дирекция сайта "Промышленная Сибирь"
Россия, г.Омск, ул.Учебная, 199-Б, к.408А
Сайт открыт 01.11.2000
© 2000-2018 Промышленная Сибирь
Разработка дизайна сайта:
Дизайн-студия "RayStudio"