|
На данной странице представлена ознакомительная часть выбранного Вами патента
Для получения более подробной информации о патенте (полное описание, формула изобретения и т.д.) Вам необходимо сделать заказ. Нажмите на «Корзину»
| ДВУХЦИЛИНДРОВЫЙ НАСОС ДЛЯ СУСПЕНЗИЙ |  |
Номер публикации патента: 2179262 |  |
| Редакция МПК: | 7 | | Основные коды МПК: | F04B015/02 | | Аналоги изобретения: | US 3929400 А, 30.12.1975. SU 339064 А, 13.04.1972. SU 764074 А, 07.10.1980. ЕР 0805272 А3, 05.11.1997. DE 2315857 А, 13.02.1975. ЕР 0805272 А2, 05.11.1997. WO 89/09339 А1, 05.10.1989. DE 3430193 А1, 27.02.1986. |
| Имя заявителя: | ШВИНГ ГМБХ (DE) | | Изобретатели: | ШВИНГ Фридрих (DE) | | Патентообладатели: | ШВИНГ ГМБХ (DE) | | Номер конвенционной заявки: | 19724504.8 | | Страна приоритета: | DE | | Патентный поверенный: | Рыбаков Владимир Моисеевич |
Реферат |  |
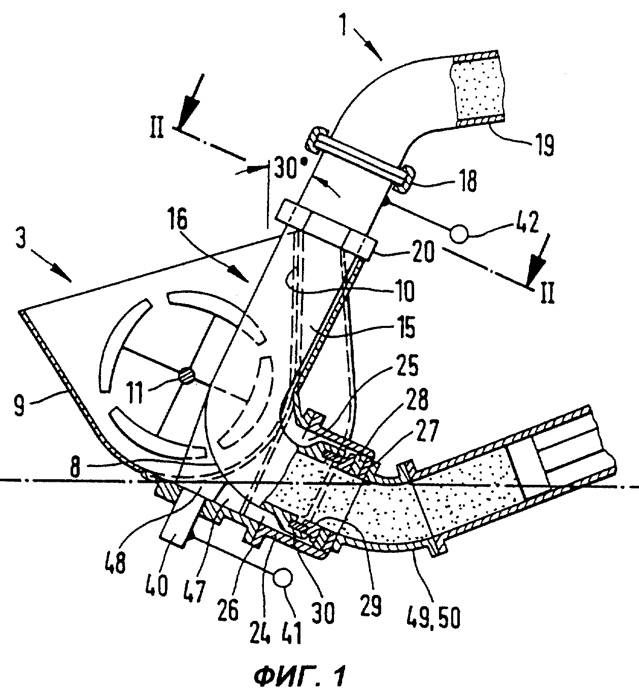
Насос предназначен для транспортирования материалов и их смесей с консистенцией от жидкой суспензии до вязкой массы, которая содержит твердые частицы. Двухцилиндровый насос для суспензий содержит загрузочный бункер для приема суспензии, мешалку с валом и трубчатым золотником, который расположен в загрузочном бункере и предназначен для управления чередующимися циклами всасывающего и нагнетательного хода цилиндров подачи. Трубчатый золотник содержит впускное колено, совершающее поворотное качание перед входными отверстиями цилиндров подачи, и выпускное колено, соединенное поворотным устройством с нагнетательным трубопроводом. Входные отверстия цилиндров подачи расположены позади задней стенки загрузочного бункера, а выпускное колено расположено между задней стенкой и валом мешалки. Впускное и выпускное колена трубчатого золотника имеют L-образную форму с перегибом примерно под прямым углом. Осевой центр выпускного колена наклонен в вертикальной плоскости в сторону задней стенки загрузочного бункера. Впускное колено L-образного угла ориентировано вниз. Создается удобная работа устройства, в бункере не остается никаких остатков бетона. 6 з.п. ф-лы, 3 ил.
|