Промышленная Сибирь Ярмарка Сибири Промышленность СФО Электронные торги НОУ-ХАУ Электронные магазины Карта сайта
 
 

Поиск патентов

Как искать?
Реферат
Название
Публикация
Регистрационный номер
Имя заявителя
Имя изобретателя
Имя патентообладателя

    





Оформить заказ и задать интересующие Вас вопросы Вы можете напрямую c 6-00 до 14-30 по московскому времени кроме сб, вс. whatsapp 8-950-950-9888

На данной странице представлена ознакомительная часть выбранного Вами патента

Для получения более подробной информации о патенте (полное описание, формула изобретения и т.д.) Вам необходимо сделать заказ. Нажмите на «Корзину»


АКСИАЛЬНО - ПЛУНЖЕРНЫЙ ГИДРОМОТОР

Номер публикации патента: 2451830

Вид документа: C1 
Страна публикации: RU 
Рег. номер заявки: 2010141218/06 
  Сделать заказПолучить полное описание патента

Редакция МПК: 
Основные коды МПК: F04B001/20    
Аналоги изобретения: ЛМИ, Отчет о научно-исследовательской работе, разработка и исследование следящих приводов на базе гидравлических машин дроссельного регулирования. 1984, раздел 1.2, с.11-14. SU 1596126 A1, 30.09.1990. US 20040131473 A1, 08.07.2004. JP 0010047231 А, 17.02.1998. 

Имя заявителя: Кутузов Владимир Кузьмич (RU),
Круглов Владимир Юрьевич (RU),
Молокин Юрий Валентинович (RU) 
Изобретатели: Кутузов Владимир Кузьмич (RU)
Круглов Владимир Юрьевич (RU)
Молокин Юрий Валентинович (RU) 
Патентообладатели: Кутузов Владимир Кузьмич (RU)
Круглов Владимир Юрьевич (RU)
Молокин Юрий Валентинович (RU) 

Реферат


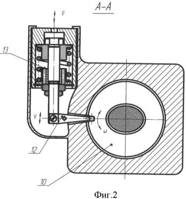
Изобретение относится к гидромашиностроению и может быть использовано в конструкциях гидромоторов, применяемых в гидроприводах объемного регулирования с повышенной точностью отработки управляющего сигнала. Гидромотор содержит корпус и, размещенный в корпусе, посредством подшипниковых узлов, соединенный с выходным валом гидромашины блок цилиндров. Последний одной своей торцевой частью подвижно сопрягается с неподвижным торцевым распределителем. В другую его торцевую часть, в цилиндры блока цилиндров введены одним концом плунжеры. На каждом плунжере, с другого его конца через сферическое сочленение укреплен опорный башмак, упирающийся в поверхность скольжения накладки наклонной шайбы. Накладка наклонной шайбы выполнена с возможностью вращения относительно шайбы в плоскости, перпендикулярной оси этой шайбы, и соединена посредством механизма с встроенным в гидромотор двигателем. Уменьшается расход электроэнергии. 6 з.п. ф-лы, 2 ил.

Дирекция сайта "Промышленная Сибирь"
Россия, г.Омск, ул.Учебная, 199-Б, к.408А
Сайт открыт 01.11.2000
© 2000-2018 Промышленная Сибирь
Разработка дизайна сайта:
Дизайн-студия "RayStudio"