Промышленная Сибирь Ярмарка Сибири Промышленность СФО Электронные торги НОУ-ХАУ Электронные магазины Карта сайта
 
 

Поиск патентов

Как искать?
Реферат
Название
Публикация
Регистрационный номер
Имя заявителя
Имя изобретателя
Имя патентообладателя

    





Оформить заказ и задать интересующие Вас вопросы Вы можете напрямую c 6-00 до 14-30 по московскому времени кроме сб, вс. whatsapp 8-950-950-9888

На данной странице представлена ознакомительная часть выбранного Вами патента

Для получения более подробной информации о патенте (полное описание, формула изобретения и т.д.) Вам необходимо сделать заказ. Нажмите на «Корзину»


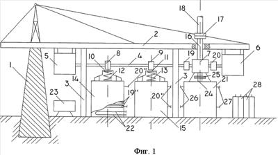
ВЕТРОВАЯ ТЕПЛОЭЛЕКТРИЧЕСКАЯ СТАНЦИЯ

Номер публикации патента: 2403436

Вид документа: C1 
Страна публикации: RU 
Рег. номер заявки: 2009123620/06 
  Сделать заказПолучить полное описание патента

Редакция МПК: 
Основные коды МПК: F03D009/00    
Аналоги изобретения: RU 2142573 C1, 10.12.1999. RU 2279568 C2, 10.07.2006. RU 2002101189 A, 20.08.2003. SU 1719715 A1, 07.06.1986. US 5436508 A, 25.07.1995. 

Имя заявителя: Государственное образовательное учреждение высшего профессионального образования "Астраханский государственный университет" (АГУ) (RU) 
Изобретатели: Бирюлин Игорь Борисович (RU)
Ветрова Анжелика Амировна (RU)
Белая Валентина Анатольевна (RU)
Башилов Иван Борисович (RU) 
Патентообладатели: Государственное образовательное учреждение высшего профессионального образования "Астраханский государственный университет" (АГУ) (RU) 

Реферат


Изобретение относится к ветроэнергетике и может быть использовано для получения тепловой энергии в виде горячей воды для отопления объектов, бытовых и технических нужд, а также электрической энергии для различных потребителей. Ветровая теплоэлектрическая станция содержит опору с прямоугольного сечения консольной балкой, с поддерживающими колоннами, электрогенераторы, теплогенераторы и теплоаккумуляторы, контактирующие с валом ветродвигателя через редуктор и горизонтальный вал. К нижней части балки прикреплены электрогенераторы, соединенные между собой горизонтальным валом, на котором закреплены эксцентрики, контактирующие с механизмами преобразования механической энергии в тепловую, находящиеся в теплогенераторах. Вал ветродвигателя соединен через редуктор с валом теплоаккумулятора, в корпусе которого за счет вращения механизмов преобразуется механическая энергия в тепловую. Электрические нагреватели, размещенные в нижней части теплогенераторов, через провода электрически связаны с силовым электрощитом, установленным возле опоры. Электрический аккумулятор, установленный рядом с теплоаккумулятором, электрически сообщен с электрогенераторами и, через силовой электрощит, с потребителями электрической энергии. Станция способна обеспечить круглый год тепловой и электрической энергией поселок или небольшой город. 2 з.п. ф-лы, 4 ил.

Дирекция сайта "Промышленная Сибирь"
Россия, г.Омск, ул.Учебная, 199-Б, к.408А
Сайт открыт 01.11.2000
© 2000-2018 Промышленная Сибирь
Разработка дизайна сайта:
Дизайн-студия "RayStudio"