Промышленная Сибирь Ярмарка Сибири Промышленность СФО Электронные торги НОУ-ХАУ Электронные магазины Карта сайта
 
 

Поиск патентов

Как искать?
Реферат
Название
Публикация
Регистрационный номер
Имя заявителя
Имя изобретателя
Имя патентообладателя

    





Оформить заказ и задать интересующие Вас вопросы Вы можете напрямую c 6-00 до 14-30 по московскому времени кроме сб, вс. whatsapp 8-950-950-9888

На данной странице представлена ознакомительная часть выбранного Вами патента

Для получения более подробной информации о патенте (полное описание, формула изобретения и т.д.) Вам необходимо сделать заказ. Нажмите на «Корзину»


ГИДРОГЕНЕРАТОР

Номер публикации патента: 2370660

Вид документа: C1 
Страна публикации: RU 
Рег. номер заявки: 2008107241/06 
  Сделать заказПолучить полное описание патента

Редакция МПК: 
Основные коды МПК: F03B003/04   F03B013/10   F03B017/06    
Аналоги изобретения: FR 1137394 A, 28.05.1957. FR 2434280 A, 21.03.1980. DE 1964821 A, 24.06.1971. RU 2141057 C1, 10.11.1999. RU 2264537 C1, 20.11.2005. RU 2189492 C2, 20.09.2002. WO 81/00595 A1, 05.03.1981. 

Имя заявителя: Болотин Николай Борисович (RU) 
Изобретатели: Болотин Николай Борисович (RU) 
Патентообладатели: Болотин Николай Борисович (RU) 

Реферат


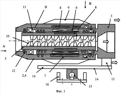
Изобретение относится к конструкциям установок для преобразования энергии течения воды в электрическую энергию. Гидрогенератор содержит электрогенератор 1 и гидродинамический привод 2. Электрогенератор 1 выполнен биротативным в виде цилиндрического корпуса 3 с обмоткой возбуждения 6 внутри него и внешнего и внутреннего роторов 4 и 5. Гидродинамический привод 2 выполнен в виде двух соосно расположенных турбин 9 и 10, одна из которых установлена на внешней поверхности внешнего ротора 4, а вторая на внутреннем роторе 5. Электрогенератор 1 снабжен магнитами 7 и 8, установленными на внешнем и внутреннем роторах 4 и 5, расположенных соответственно снаружи и внутри корпуса 3. Турбины 9 и 19 выполнены шнековыми, вторая из которых установлена на внутренней поверхности внутреннего ротора 5. Изобретение направлено на повышение КПД установки при уменьшении ее габаритов и одновременном увеличении мощности. 4 з.п. ф-лы, 3 ил.

Дирекция сайта "Промышленная Сибирь"
Россия, г.Омск, ул.Учебная, 199-Б, к.408А
Сайт открыт 01.11.2000
© 2000-2018 Промышленная Сибирь
Разработка дизайна сайта:
Дизайн-студия "RayStudio"