Промышленная Сибирь Ярмарка Сибири Промышленность СФО Электронные торги НОУ-ХАУ Электронные магазины Карта сайта
 
 

Поиск патентов

Как искать?
Реферат
Название
Публикация
Регистрационный номер
Имя заявителя
Имя изобретателя
Имя патентообладателя

    





Оформить заказ и задать интересующие Вас вопросы Вы можете напрямую c 6-00 до 14-30 по московскому времени кроме сб, вс. whatsapp 8-950-950-9888

На данной странице представлена ознакомительная часть выбранного Вами патента

Для получения более подробной информации о патенте (полное описание, формула изобретения и т.д.) Вам необходимо сделать заказ. Нажмите на «Корзину»


ТОПЛИВНАЯ ФОРСУНКА С ЭЛЕМЕНТОМ ГИДРАВЛИЧЕСКОЙ СВЯЗИ

Номер публикации патента: 2452867

Вид документа: C2 
Страна публикации: RU 
Рег. номер заявки: 2009131122/06 
  Сделать заказПолучить полное описание патента

Редакция МПК: 
Основные коды МПК: F02M047/02   F02M061/16   F02M061/12    
Аналоги изобретения: DE 102005007543 А1, 24.08.2006. RU 2062347 С1, 20.06.1996. RU 2280781 С1, 27.07.2006. ЕР 0262539 А1, 06.04.1988. 

Имя заявителя: РОБЕРТ БОШ ГМБХ (DE) 
Изобретатели: КЕЛЛЬНЕР Андреас (DE)
РАПП Хольгер (DE)
КАТЦ Мартин (DE) 
Патентообладатели: РОБЕРТ БОШ ГМБХ (DE) 
Приоритетные данные: 16.01.2007 DE 102007002282.6 

Реферат


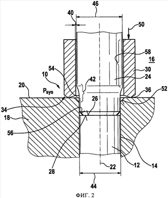
Изобретение относится к герметичной топливной форсунке, которая приводится в действие приводом, например электромагнитным клапаном. Топливная форсунка (10) содержит элемент (24, 30) гидравлической связи и клапанный элемент (12). Клапанный элемент (12) выполнен в виде иглы форсунки и вставлен в корпус распылителя (18). Элемент гидравлической связи содержит поршень (24) и втулку (30). Элемент (24, 30) гидравлической связи передает поступательное перемещение привода на клапанный элемент (12). Клапанный элемент (12) имеет наружный диаметр (44). Втулка (30) имеет внутренний диаметр (46). Втулка (30) охватывает вставленный в нее поршень (24) по внутреннему диаметру (46). Внутренний диаметр (46) втулки больше наружного диаметра (44) клапанного элемента (12). Разность между внутренним диаметром (46) втулки (30) и наружным диаметром (44) клапанного элемента (12) составляет максимум 0,2 мм. Технический результат заключается в уменьшении падения давления в элементе гидравлической связи при подъеме поршня. 9 з.п. ф-лы, 2 ил.

Дирекция сайта "Промышленная Сибирь"
Россия, г.Омск, ул.Учебная, 199-Б, к.408А
Сайт открыт 01.11.2000
© 2000-2018 Промышленная Сибирь
Разработка дизайна сайта:
Дизайн-студия "RayStudio"