|
На данной странице представлена ознакомительная часть выбранного Вами патента
Для получения более подробной информации о патенте (полное описание, формула изобретения и т.д.) Вам необходимо сделать заказ. Нажмите на «Корзину»
| ТОПЛИВНЫЙ НАСОС ВЫСОКОГО ДАВЛЕНИЯ |  |
Номер публикации патента: 2179259 |  |
| Редакция МПК: | 7 | | Основные коды МПК: | F02M059/36 | | Аналоги изобретения: | DE 3841462 A1, 13.06.1990. SU 1192636 А, 16.04.1981. RU 2009361 C1, 15.03.1994. ЕР 0050053 А2, 21.04.1982. ЕР 0114375 А1, 01.08.1984. GB 2136061 A, 12.09.1984. |
| Имя заявителя: | Открытое акционерное общество Холдинговая компания "Коломенский завод" | | Изобретатели: | Рыжов В.А. Кулаев П.В. | | Патентообладатели: | Открытое акционерное общество Холдинговая компания "Коломенский завод" |
Реферат |  |
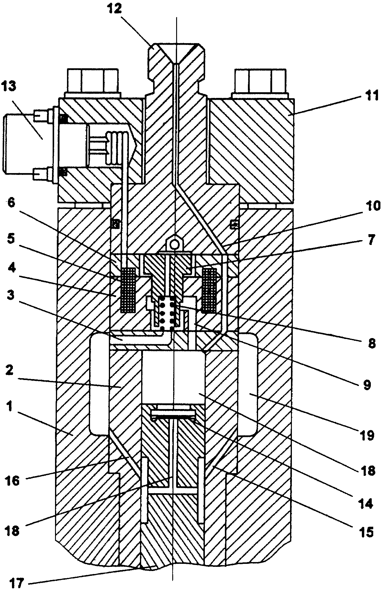
Изобретение относится к двигателестроению, в частности к топливной аппаратуре с электронным управлением. Топливный насос высокого давления содержит корпус, плунжерную пару с плунжером без управляющих кромок, нагнетательный штуцер с клапаном и управляющий электромагнитный клапан, проходное сечение которого соединяет полость всасывания с надплунжерной полостью, соединенной одновременно с нагнетательным трубопроводом. Катушка электромагнита размещена в корпусе насоса между плунжерной парой и нагнетательным штуцером соосно с плунжером, либо ось катушки параллельна оси плунжера. Неподвижный магнитопровод состоит из двух частей, охватывающих катушку, одновременно изолируя ее от топлива, и содержащих топливные каналы, соединяющие надплунжерную полость с полостями нагнетания и всасывания. Подвижный магнитопровод (якорь) одновременно является гидравлическим затвором, выполненным в виде Т-образной полой цилиндрической втулки и расположенным соосно с катушкой внутри нее таким образом, чтобы цилиндрическая часть большего диаметра входила в катушку на 1/3 ее высоты диаметральным зазором не более 0,2 мм, а часть меньшего диаметра входила в один из неподвижных магнитопроводов с зазором 0,001-0,002 мм. Технический результат заключается в повышении надежности и быстродействия насоса. 2 з.п. ф-лы, 1 ил.
|