|
На данной странице представлена ознакомительная часть выбранного Вами патента
Для получения более подробной информации о патенте (полное описание, формула изобретения и т.д.) Вам необходимо сделать заказ. Нажмите на «Корзину»
| ВОЗДУХООЧИСТИТЕЛЬ ДЛЯ ТРАНСПОРТНОГО СРЕДСТВА |  |
Номер публикации патента: 2184264 |  |
| Редакция МПК: | 7 | | Основные коды МПК: | F02M035/02 F02M035/08 | | Аналоги изобретения: | SU 1116203 А, 30.09.1984. GB 2064359 А, 17.06.1981. FR 1594537 А, 17.07.1970. ЕР 0019057 А1, 26.11.1980. DE 157842 А, 11.01.1973. |
| Имя заявителя: | Березина Тамара Ивановна | | Изобретатели: | Березина Т.И. Березин И.В. Коробченко В.С. | | Патентообладатели: | Березина Тамара Ивановна Березин Игорь Викторович Коробченко Владимир Семенович |
Реферат |  |
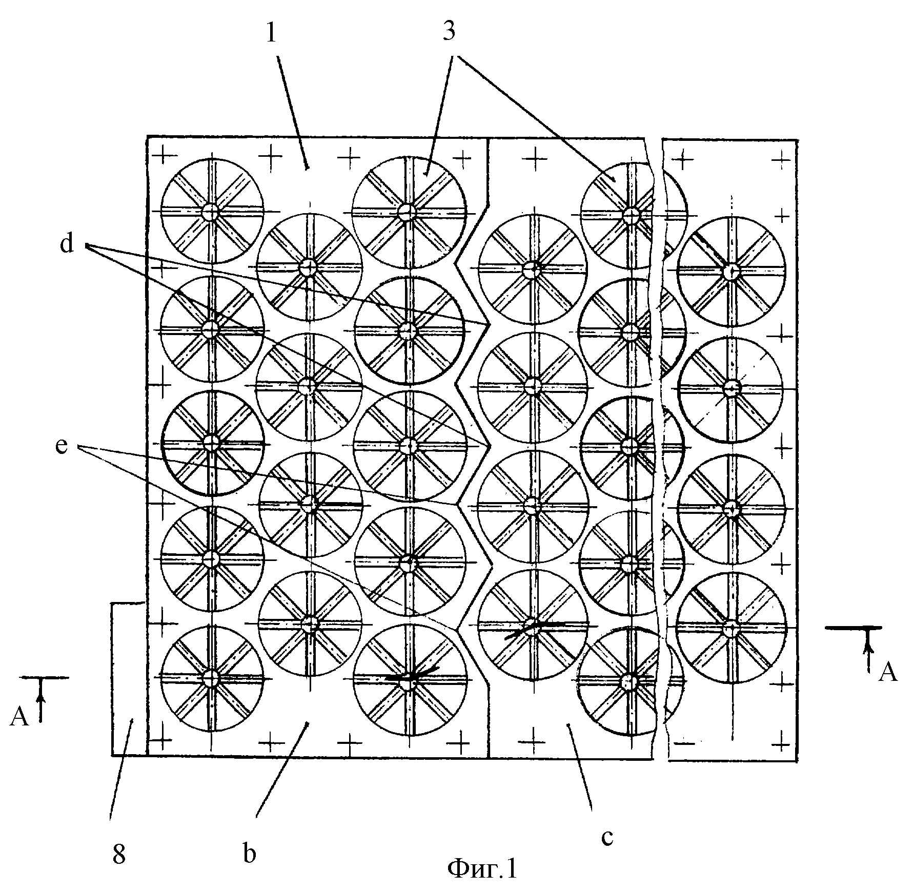
Изобретение относится к машиностроению, в частности к большегабаритным воздухоочистителям для транспортных средств, у которых предусмотрена возможность движения в условиях пересеченной местности и бездорожья. Основная задача, на решение которой направлено изобретение, - повышение надежности работы большегабаритных воздухоочистителей для транспортных средств при сохранении оптимальной степени очистки воздуха. Воздухоочиститель содержит выполненный из двух частей прямоугольный литой корпус с продольными рядами сепарационных отверстий, в каждом из которых со стороны входа воздуха размещен лопаточный завихритель, а также присоединенный к корпусу общий пылесборный поддон. Сепарационные отверстия распложены в рядах в шахматном порядке так, чтобы получить их наибольшее количество. В пылесборном поддоне закреплены приемные конусы со щелями или перфорацией для очищенного воздуха, причем каждый приемный конус со стороны вершины размещен с зазором внутри выходного участка соответствующего сепарационного отверстия с образованием кольцевого канала. 4 ил.
|