|
На данной странице представлена ознакомительная часть выбранного Вами патента
Для получения более подробной информации о патенте (полное описание, формула изобретения и т.д.) Вам необходимо сделать заказ. Нажмите на «Корзину»
| МНОГОЦИЛИНДРОВЫЙ ДВИГАТЕЛЬ ВНУТРЕННЕГО СГОРАНИЯ С ПРИНУДИТЕЛЬНЫМ ЗАЖИГАНИЕМ |  |
Номер публикации патента: 2173401 |  |
| Редакция МПК: | 7 | | Основные коды МПК: | F02M031/18 F02M069/32 | | Аналоги изобретения: | EP 0509982 A, 21.10.1992. SU 985381 A, 30.12.1982. GB 2248087 A, 25.03.1992. GB 1229914 A, 28.04.1971. |
| Имя заявителя: | РОБЕРТ БОШ ГМБХ (DE) | | Изобретатели: | АБИДИН Анвар (DE) АЙХЕНДОРФ Андреас (DE) ФОГЕЛЬ Кристоф (DE) | | Патентообладатели: | РОБЕРТ БОШ ГМБХ (DE) | | Номер конвенционной заявки: | 19624368.8 | | Страна приоритета: | DE | | Патентный поверенный: | Веселицкая Ирина Александровна |
Реферат |  |
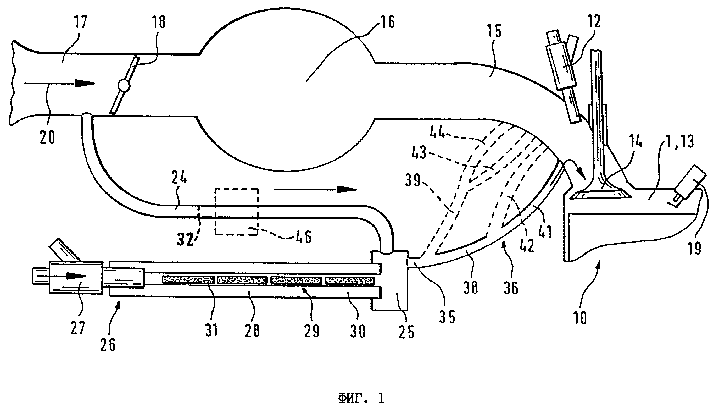
Изобретение относится к двигателестроению, а именно к многоцилиндровым двигателям внутреннего сгорания с принудительным зажиганием. Техническим результатом является снижение токсичности отработавших газов за счет равномерного распределения по цилиндрам двигателя паров топлива, приготовленных топливоиспарительной системой. Сущность изобретения заключается в том, что многоцилиндровый двигатель внутреннего сгорания с принудительным зажиганием снабжен топливоиспарительной системой, подсоединенной системой трубопроводов к впускным патрубкам двигателя. Система трубопроводов выполнена разветвляющейся, а цилиндры соединены с ней попарно в соответствии с порядком их работы для обеспечения максимального времени между подачей испаренного топлива по ответвлениям трубопровода. 6 з.п. ф-лы, 3 ил.
|