|
На данной странице представлена ознакомительная часть выбранного Вами патента
Для получения более подробной информации о патенте (полное описание, формула изобретения и т.д.) Вам необходимо сделать заказ. Нажмите на «Корзину»
| СИСТЕМА ПИТАНИЯ ДВИГАТЕЛЯ ВНУТРЕННЕГО СГОРАНИЯ |  |
Номер публикации патента: 2178094 |  |
| Редакция МПК: | 7 | | Основные коды МПК: | F02M001/16 F02N017/00 | | Аналоги изобретения: | SU 1636584 A1, 23.02.1988. SU 1236134 A1, 07.06.1984. SU 167087 А, 14.12.1964. SU 523181 А, 03.08.1976. SU 750115 А, 03.08.1976. SU 1273151 A1, 18.06.1984. SU 676746 А, 30.07.1979. US 4402286 А, 06.09.1983. US 5558068 А, 24.09.1996. FR 2137321 A, 29.12.1972. DE 2837657 A1, 31.05.1979. |
| Имя заявителя: | Гурьянов Александр Владимирович | | Изобретатели: | Гурьянов А.В. | | Патентообладатели: | Гурьянов Александр Владимирович Резник Геннадий Яковлевич |
Реферат |  |
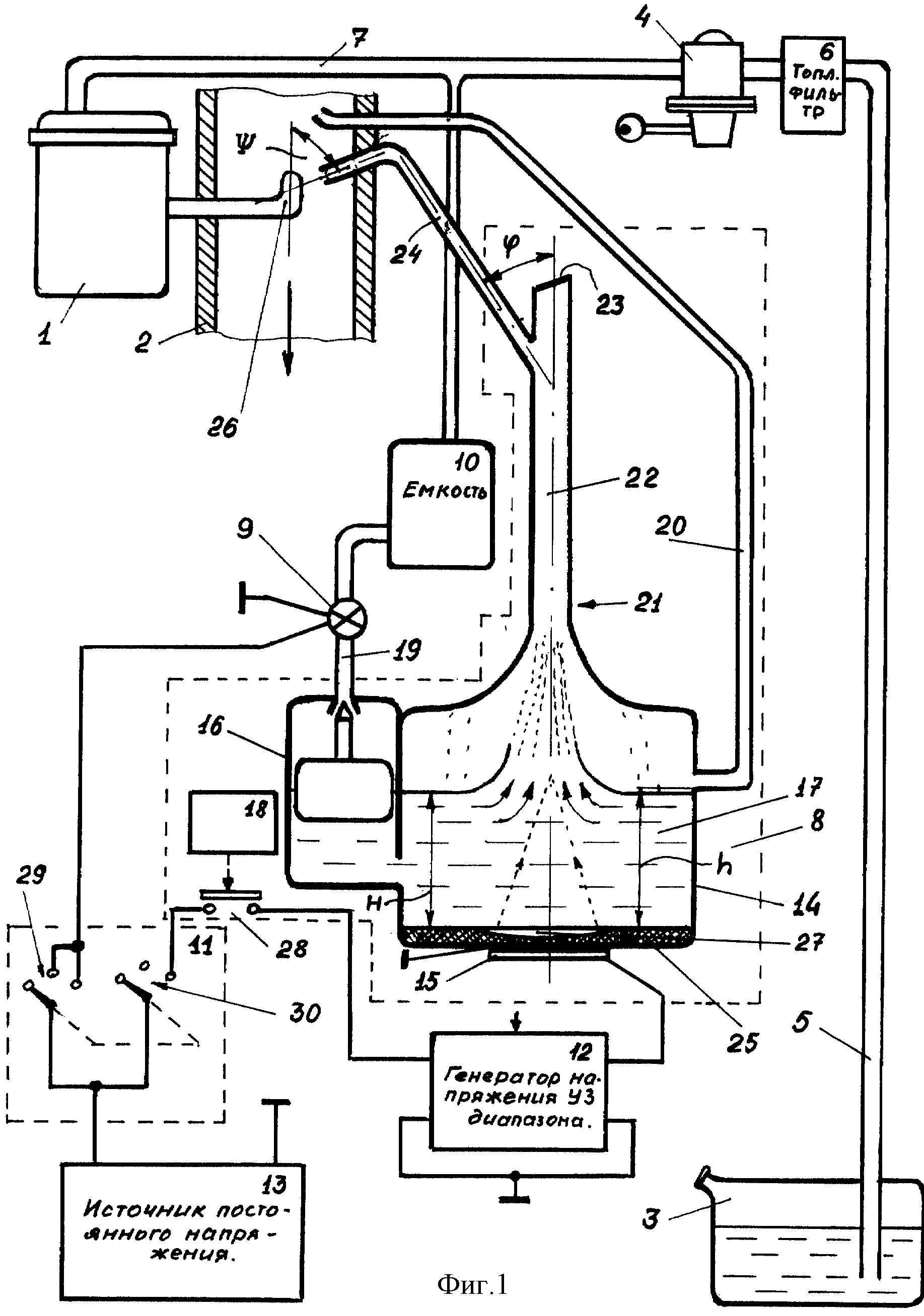
Изобретение относится к двигателестроению, в частности к средствам, обеспечивающим запуск двигателей внутреннего сгорания (ДВС). Изобретение позволяет при его использовании снизить затраты электроэнергии и топлива при запуске ДВС в условиях низких температур окружающей среды. Система питания ДВС содержит карбюратор, впускной трубопровод, топливный бак, связанный линией подачи топлива с входом карбюратора. Линия подачи топлива в карбюратор включает подкачивающий насос, вход которого через соединительный трубопровод и топливный фильтр сообщен с топливным баком. Выход подкачивающего насоса через соединительный трубопровод соединен с карбюратором. Система включает также пусковое топливоподающее устройство, электромагнитный клапан, емкость, блок управления, генератор напряжения ультразвукового диапазона и источник постоянного напряжения. Пусковое топливоподающее устройство содержит сосуд, пьезоэлектрическую пластинку, регулятор верхнего допустимого уровня топлива в сосуде, например поплавковый, датчик нижнего допустимого уровня топлива в сосуде, патрубок для подачи топлива, трубопровод для подачи воздуха и соединенный с верхней частью сосуда выходной трубопровод. 21 з. п. ф-лы, 4 ил.
|