Промышленная Сибирь Ярмарка Сибири Промышленность СФО Электронные торги НОУ-ХАУ Электронные магазины Карта сайта
 
 

Поиск патентов

Как искать?
Реферат
Название
Публикация
Регистрационный номер
Имя заявителя
Имя изобретателя
Имя патентообладателя

    





Оформить заказ и задать интересующие Вас вопросы Вы можете напрямую c 6-00 до 14-30 по московскому времени кроме сб, вс. whatsapp 8-950-950-9888

На данной странице представлена ознакомительная часть выбранного Вами патента

Для получения более подробной информации о патенте (полное описание, формула изобретения и т.д.) Вам необходимо сделать заказ. Нажмите на «Корзину»


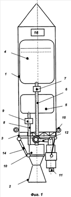
ЖИДКОСТНЫЙ РАКЕТНЫЙ ДВИГАТЕЛЬ И БЛОК СОПЕЛ КРЕНА

Номер публикации патента: 2431053

Вид документа: C1 
Страна публикации: RU 
Рег. номер заявки: 2010119904/06 
  Сделать заказПолучить полное описание патента

Редакция МПК: 
Основные коды МПК: F02K009/80   B64G001/00    
Аналоги изобретения: RU 2156874 C1, 27.09.2000. RU 12187 U1, 16.12.1999. GB 1044780 A, 05.10.1966. DE 1626055 В1, 30.07.1970. FR 2232685 A1, 03.01.1975. 

Имя заявителя: Варламов Сергей Евгеньевич (RU),
Болотин Николай Борисович (RU) 
Изобретатели: Варламов Сергей Евгеньевич (RU)
Болотин Николай Борисович (RU) 
Патентообладатели: Варламов Сергей Евгеньевич (RU)
Болотин Николай Борисович (RU) 

Реферат


Изобретение относится к ракетной технике и может быть использовано в жидкостных ракетных двигателях. Жидкостный ракетный двигатель содержит силовую раму, камеру сгорания, имеющую головку, цилиндрическую часть и сопло, которая закреплена на силовой раме при помощи узла подвески, обеспечивающего возможность качания в двух плоскостях посредством приводов, прикрепленных к силовому кольцу, выполненному на камере сгорания, газогенератор и турбонасосный агрегат, содержащий, в свою очередь, турбину, насос окислителя, насос горючего, газовод, соединяющий выход из турбины с головкой камеры сгорания через узел подвески, при этом сопла крена сгруппированы в блоки сопел крена попарно и установлены на корпусе ступени ракеты и соединены с коллектором, к которому присоединен трубопровод отбора газогенераторного газа, другой конец которого соединен с газоводом. Блок сопел крена содержит два сопла крена, имеющих коллекторы горючего, объединенных в один узел, согласно изобретению пара сопел крена оборудована трехходовым краном, установленным между ними и имеющим привод, соединенный с ним валом, на коллекторе горючего каждого сопла крена установлен пускоотсечной клапан горючего. Изобретение обеспечивает повышение надежности управлением вектором тяги и управлением по крену. 2 н. и 2 з.п. ф-лы, 6 ил.

Дирекция сайта "Промышленная Сибирь"
Россия, г.Омск, ул.Учебная, 199-Б, к.408А
Сайт открыт 01.11.2000
© 2000-2018 Промышленная Сибирь
Разработка дизайна сайта:
Дизайн-студия "RayStudio"