|
На данной странице представлена ознакомительная часть выбранного Вами патента
Для получения более подробной информации о патенте (полное описание, формула изобретения и т.д.) Вам необходимо сделать заказ. Нажмите на «Корзину»
| ЖИДКОСТНЫЙ РАКЕТНЫЙ ДВИГАТЕЛЬ |  |
Номер публикации патента: 2182984 |  |
| Редакция МПК: | 7 | | Основные коды МПК: | F02K009/48 | | Аналоги изобретения: | RU 2095608 С1, 10.11.1997. RU 2095607 С1, 10.11.1997. RU 2148181 С1, 27.04.2000. US 3049870 А, 21.08.1962. US 3516254 А, 23.06.1970. FR 2640322 А1, 15.06.1990. US 6052987 А, 25.04.2000. DE 3506826 А1, 28.08.1986. БАБКИН А.И. Основы теории автоматического управления ракетными двигательными установками. - М.: Машиностроение, 1986, с.9, рис.1.7. КУДРЯВЦЕВ В.М. Основы теории и расчета жидкостных ракетных двигателей. М.: Высшая школа, 1993, кн.2, с.109-117. КОЗЛОВ А.А. Системы питания и управления жидкостных двигательных установок. - М.: Машиностроение, 1988, с.115-125. |
| Имя заявителя: | Открытое акционерное общество "Ракетно-космическая корпорация "Энергия" имени С.П. Королева" | | Изобретатели: | Катков Р.Э. Тупицын Н.Н. Чикаев И.П. | | Патентообладатели: | Открытое акционерное общество "Ракетно-космическая корпорация "Энергия" имени С.П. Королева" |
Реферат |  |
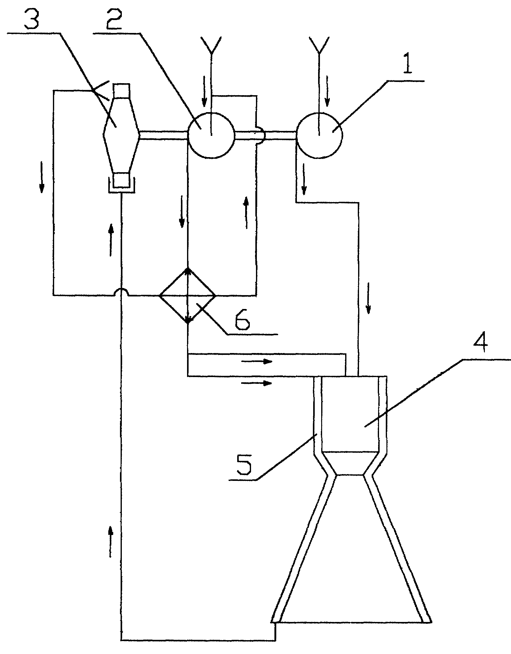
Жидкостный ракетный двигатель предназначен для использования в составе космических разгонных блоков, ступеней ракетоносителей и как маршевый двигатель космических аппаратов, включает в себя камеру сгорания с регенеративным трактом охлаждения, насосы подачи компонентов - горючего и окислителя с турбиной на одном валу, в который введен конденсатор. Выход конденсатора по линии хладагента соединен с входом в камеру сгорания и с входом в тракт регенеративного охлаждения камеры сгорания. Выход из конденсатора по линии теплоносителя соединен с входом в насос одного из компонентов. Выход из насоса того же компонента сообщен с входом конденсатора по линии хладагента. Второй вход конденсатора сообщен с выходом турбины. Выход насоса другого компонента сообщен с входом в камеру сгорания. Изобретение позволяет повысить эффективность жидкостного ракетного двигателя и расширить возможности его применения. 1 ил.
|