Промышленная Сибирь Ярмарка Сибири Промышленность СФО Электронные торги НОУ-ХАУ Электронные магазины Карта сайта
 
 

Поиск патентов

Как искать?
Реферат
Название
Публикация
Регистрационный номер
Имя заявителя
Имя изобретателя
Имя патентообладателя

    





Оформить заказ и задать интересующие Вас вопросы Вы можете напрямую c 6-00 до 14-30 по московскому времени кроме сб, вс. whatsapp 8-950-950-9888

На данной странице представлена ознакомительная часть выбранного Вами патента

Для получения более подробной информации о патенте (полное описание, формула изобретения и т.д.) Вам необходимо сделать заказ. Нажмите на «Корзину»


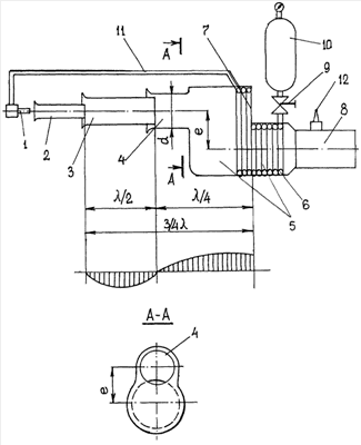
ПУЛЬСИРУЮЩИЙ ВОЗДУШНО - РЕАКТИВНЫЙ ДВИГАТЕЛЬ

Номер публикации патента: 2435978

Вид документа: C1 
Страна публикации: RU 
Рег. номер заявки: 2010117779/06 
  Сделать заказПолучить полное описание патента

Редакция МПК: 
Основные коды МПК: F02K007/04    
Аналоги изобретения: GB 2411208 А, 24.08.2005. US 6216446 B1, 17.04.2001. RU 2313683 C1, 27.12.2007. GB 1037287 A, 27.07.1962. RU 2080466 C1, 27.05.1997. FR 1245645 A, 27.07.1967. 

Имя заявителя: Мигалин Константин Валентинович (RU),
Сиденко Алексей Ильич (RU) 
Изобретатели: Мигалин Константин Валентинович (RU)
Сиденко Алексей Ильич (RU)
Мигалин Кирилл Константинович (RU)
Мусатов Сергей Игоревич (RU)
Ужегов Павел Николаевич (RU) 
Патентообладатели: Мигалин Константин Валентинович (RU)
Сиденко Алексей Ильич (RU) 

Реферат


Изобретение относится к технике, преимущественно военной, а именно к двигателям летательных аппаратов, и может быть использовано, вероятнее всего, в качестве двигателя небольших беспилотных летательных аппаратов, таких как зенитные, авиационные и тактические ракеты, беспилотные разведчики, летающие мишени, а также в качестве сбрасываемых дополнительных двигателей. Пульсирующий воздушно-реактивный двигатель содержит, в частности, цилиндрическую камеру сгорания, резонаторную трубу, цилиндрические впускные патрубки, змеевик нагрева газа. Камера сгорания выполнена со сдвигом в средней части, а змеевик нагрева газа расположен в задней ее части, примыкающей к резонаторной трубе. Изобретение направлено на повышение термодинамического КПД путем увеличения амплитуды пульсаций давления. 1 ил.

Дирекция сайта "Промышленная Сибирь"
Россия, г.Омск, ул.Учебная, 199-Б, к.408А
Сайт открыт 01.11.2000
© 2000-2018 Промышленная Сибирь
Разработка дизайна сайта:
Дизайн-студия "RayStudio"