|
На данной странице представлена ознакомительная часть выбранного Вами патента
Для получения более подробной информации о патенте (полное описание, формула изобретения и т.д.) Вам необходимо сделать заказ. Нажмите на «Корзину»
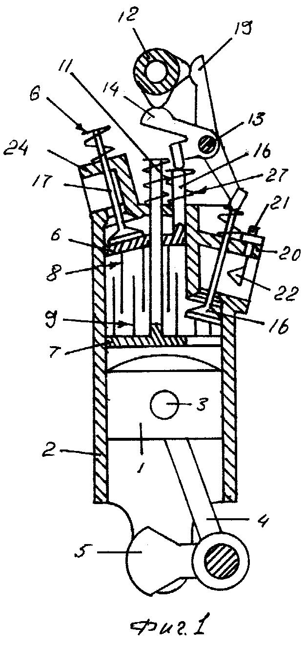
| ДВИГАТЕЛЬ ВНУТРЕННЕГО ТЕПЛООБМЕНА С ПРЕОБРАЗОВАНИЕМ ТЕПЛОВОЙ ЭНЕРГИИ ГАЗОВ В МЕХАНИЧЕСКОЕ ДАВЛЕНИЕ ГАЗОВ |  |
Номер публикации патента: 2184259 |  |
| Редакция МПК: | 7 | | Основные коды МПК: | F02G005/02 | | Аналоги изобретения: | КИСЕЛЕВ Б.А. Модели воздушного боя. - М.: ДОСААФ, 1981, с.105. US 5465702 A, 14.11.1995. DE 1276410 A, 29.08.1968. FR 2380430 A, 13.10.1978. US 4790284 A, 13.12.1988. SU 1444548 A1, 15.12.1988. |
| Имя заявителя: | Юркин Владимир Ильич | | Изобретатели: | Юркин В.И. | | Патентообладатели: | Юркин Владимир Ильич |
Реферат |  |
Изобретение относится к машиностроению, в частности двигателестроению. Оно позволяет повысить эффективность преобразования тепловой энергии в механическую, в двигателе за счет снижения потерь с отработанными газами. Устройство состоит из двигателя и теплообменника, размещенного в камере переменного объема. Для повышения эффективности двигателя теплообменник выполнен с возможностью раскрытия и закрытия своих внутренних поверхностей. 20 ил.
|