Промышленная Сибирь Ярмарка Сибири Промышленность СФО Электронные торги НОУ-ХАУ Электронные магазины Карта сайта
 
 

Поиск патентов

Как искать?
Реферат
Название
Публикация
Регистрационный номер
Имя заявителя
Имя изобретателя
Имя патентообладателя

    





Оформить заказ и задать интересующие Вас вопросы Вы можете напрямую c 6-00 до 14-30 по московскому времени кроме сб, вс. whatsapp 8-950-950-9888

На данной странице представлена ознакомительная часть выбранного Вами патента

Для получения более подробной информации о патенте (полное описание, формула изобретения и т.д.) Вам необходимо сделать заказ. Нажмите на «Корзину»


МАСЛОСЪЕМНОЕ ПОРШНЕВОЕ КОЛЬЦО ДВИГАТЕЛЯ ВНУТРЕННЕГО СГОРАНИЯ

Номер публикации патента: 2447307

Вид документа: C1 
Страна публикации: RU 
Рег. номер заявки: 2011101087/06 
  Сделать заказПолучить полное описание патента

Редакция МПК: 
Основные коды МПК: F02F005/00   F16J009/20    
Аналоги изобретения: SU 726388 А, 08.04.1980. SU 1372084 A1, 07.02.1988. SU 1116201 A, 07.01.1989. US 4099730 A, 11.07.1978. FR 771002 A, 28.09.1934. 

Имя заявителя: Государственное образовательное учреждение высшего профессионального образования Казанский государственный технический университет им. А.Н. Туполева (КГТУ им. А.Н. Туполева) (RU) 
Изобретатели: Гуреев Виктор Михайлович (RU)
Дружинин Анатолий Матвеевич (RU) 
Патентообладатели: Государственное образовательное учреждение высшего профессионального образования Казанский государственный технический университет им. А.Н. Туполева (КГТУ им. А.Н. Туполева) (RU) 

Реферат


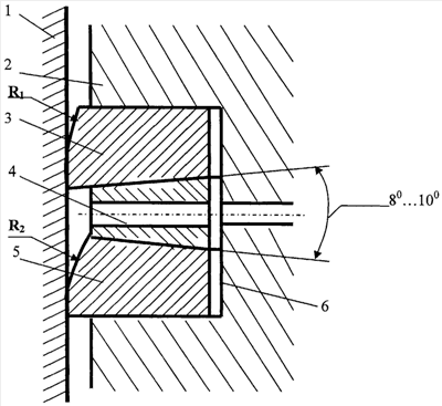
Изобретение относится к машиностроению, а конкретно к проектированию, производству и эксплуатации двигателей внутреннего сгорания. В поршневой канавке (6) установлены верхний скребковый элемент (3) и нижний скребковый элемент (5), между которыми расположен расширитель - коническое упругое разрезное кольцо (4) с пазами, сообщающими полость, расположенную между стенкой цилиндра (1) и поверхностью внешнего диаметра кольца (4), с придонной полостью поршневой канавки (6). Рабочие поверхности скребковых элементов (3) и (5) спрофилированы так, что излишки масла снимаются со стенки цилиндра (1) только при движении поршня (2) в нижнее положение, а на стенке цилиндра (1) формируется минимально необходимая толщина гидродинамического смазочного слоя. Изобретение обеспечивает минимальные механические потери на трение поршневых колец и минимальный расход моторного масла на угар. 2 з.п. ф-лы, 1 ил.

Дирекция сайта "Промышленная Сибирь"
Россия, г.Омск, ул.Учебная, 199-Б, к.408А
Сайт открыт 01.11.2000
© 2000-2018 Промышленная Сибирь
Разработка дизайна сайта:
Дизайн-студия "RayStudio"