|
На данной странице представлена ознакомительная часть выбранного Вами патента
Для получения более подробной информации о патенте (полное описание, формула изобретения и т.д.) Вам необходимо сделать заказ. Нажмите на «Корзину»
| СПОСОБ И УСТРОЙСТВО УСТРАНЕНИЯ ЗАГРЯЗНЕНИЯ ОКРУЖАЮЩЕЙ СРЕДЫ ДВИГАТЕЛЕМ ЦИКЛИЧЕСКОГО ВНУТРЕННЕГО СГОРАНИЯ С НЕЗАВИСИМОЙ КАМЕРОЙ СГОРАНИЯ |  |
Номер публикации патента: 2161711 |  |
| Редакция МПК: | 7 | | Основные коды МПК: | F02B075/10 | | Аналоги изобретения: | 1. US 4211083 A, 08.07.1980. 2. FR 728686 A, 09.07.1932. 3. FR 2416344 A, 31.08.1979. 4. SU 8236971 A, 30.04.1981. |
| Имя заявителя: | Ги НЕГР (FR) | | Изобретатели: | Ги Негр (FR) Сирил Негр (FR) | | Патентообладатели: | Ги НЕГР (FR) | | Номер конвенционной заявки: | 9502838 | | Страна приоритета: | FR |
Реферат |  |
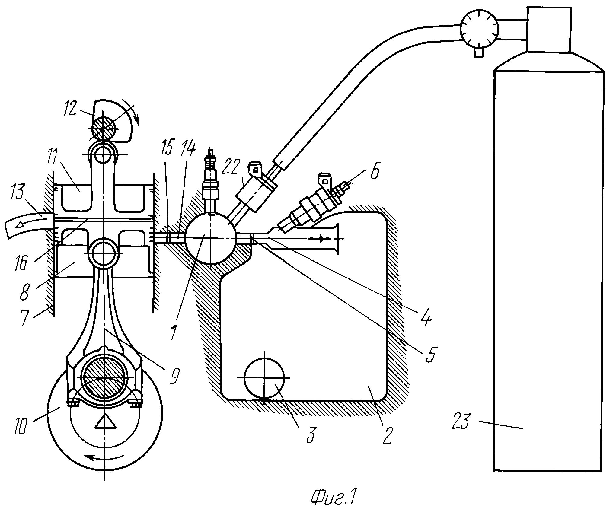
Изобретение относится к двигателям внутреннего сгорания. Способ устранения загрязнения окружающей среды двигателем циклического внутреннего сгорания с независимой камерой (1) сгорания постоянного объема, в котором камера сжатия, камера сгорания и камера (16) расширения представляют собой три отдельные и полностью независимые друг от друга части, приспособленные каждая к оптимальному выполнению соответствующей функции без взаимного влияния этих элементов друг на друга, состоит в том, что в процессе функционирования двигателя на малой мощности инжектор (6) топлива перекрывают при заполнении камеры (1) сгорания постоянного объема и в каждом при высокой температуре, вводят в камеру (1) сгорания строго после впуска в нее сжатого воздуха, поступающего от компрессора (26) двигателя, небольшое количество дополнительного воздуха, поступающего из внешнего резервуара (23А), где этот воздух хранится под высоким давлением и при температуре окружающей среды. Обеспечивают нагревание этого небольшого количества дополнительного воздуха за счет контакта с горячим сжатым воздухом, уже содержащимся в камере (1) сгорания, его расширение и существенное повышение давления в камере (1) сгорания с обеспечением в процессе расширения работ данного двигателя с достаточной мощностью. 2 с.и 4 з.п. ф-лы, 3 ил.
|