|
На данной странице представлена ознакомительная часть выбранного Вами патента
Для получения более подробной информации о патенте (полное описание, формула изобретения и т.д.) Вам необходимо сделать заказ. Нажмите на «Корзину»
| ТЕПЛОЭНЕРГЕТИЧЕСКАЯ УСТАНОВКА |  |
Номер публикации патента: 2164615 |  |
| Редакция МПК: | 7 | | Основные коды МПК: | F02G005/02 F02G001/043 F02B065/00 | | Аналоги изобретения: | Строительное обозрение (журнал качества). - СПб., № 5(32), май-июнь 1999, с.16-17. US 4657290 A, 14.04.1987. GB 2015151 A1, 05.09.1979. FR 2463858 A, 03.04.1981. DE 3120686 A1, 23.12.1982. |
| Имя заявителя: | Военный инженерно-космический университет им. А.Ф. Можайского | | Изобретатели: | Кириллов Н.Г. | | Патентообладатели: | Военный инженерно-космический университет им. А.Ф. Можайского |
Реферат |  |
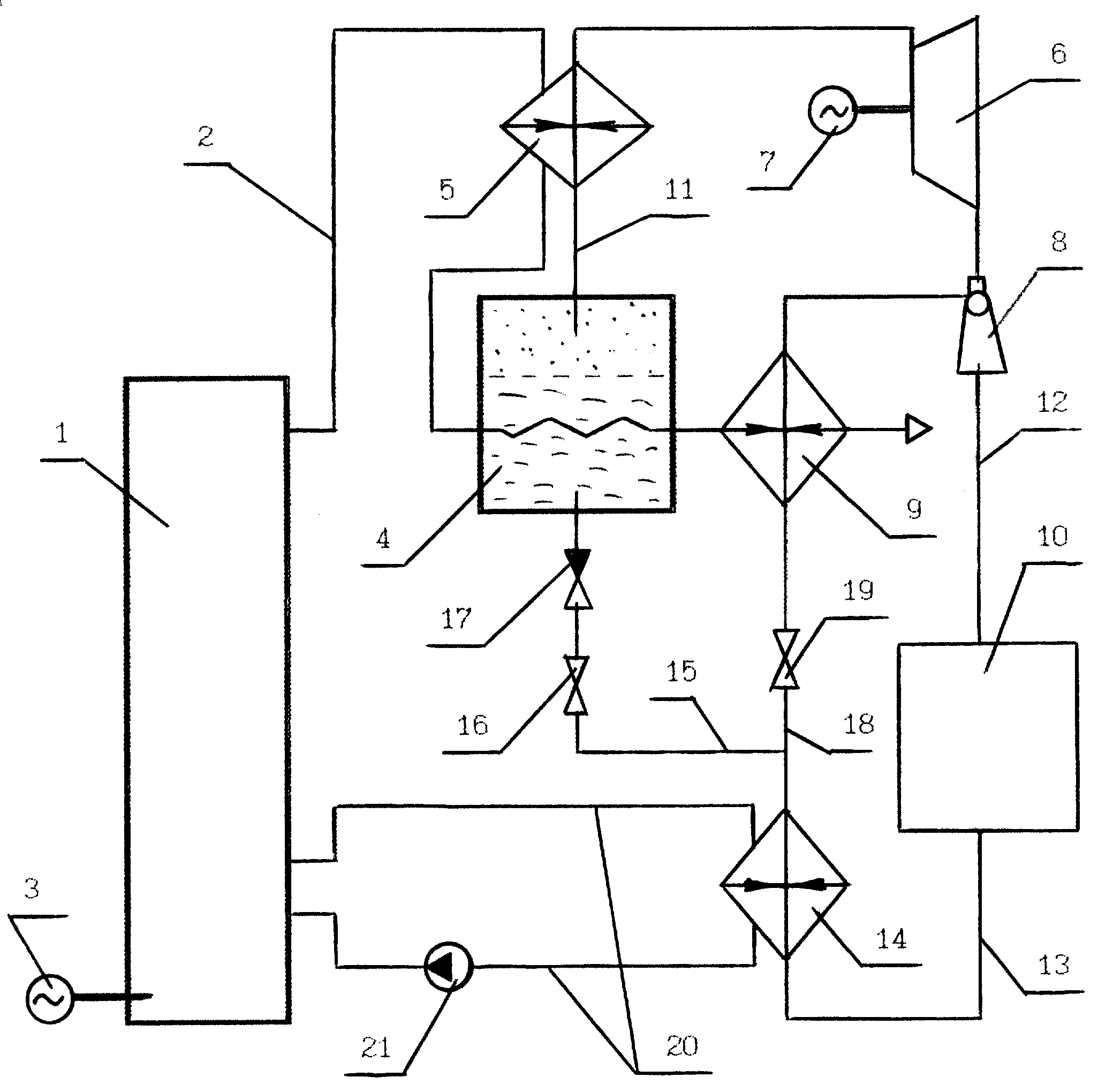
Изобретение относится к области теплоэнергетики и преобразователей энергии прямого цикла (например, двигателей Стирлинга или двигателей внутреннего сгорания), предназначено в качестве автономных энергоустановок для стационарных и передвижных объектов при одновременном производстве электроэнергии и тепла. Достигаемый технический результат - повышение КПД и снижение массогабаритных характеристик установки в целом. При работе двигатель 1 производит полезную энергию, преобразуемую в электрическую энергию с помощью электрогенератора 3, расположенного на одном валу с двигателем 1. Для охлаждения двигателя 1 предусмотрен контур охлаждения 20, связанный через теплообменник 14 с системой внешнего теплоснабжения. Вода из магистрали возврата 13 частично поступает в парогенератор 4, через который проходит магистраль отработанных газов 23, и частично в пароводяной насос-подогреватель 8. Пар высокого давления из парогенератора 4 сначала поступает в теплообменник-подогреватель пара 5, затем расширяется в паровой турбине 6 с получением электроэнергии в генераторе 7 и подается в пароводяной насос-подогреватель 8, перемешивается с водой, поступающей из линии 18, образуя воду с высокой температурой и давлением. За счет этого давления происходит подача горячей воды по магистрали 12 внешним потребителям тепла 10 и дальнейшая циркуляция воды в магистралях 13, 15, 18. Для регулирования направления и расхода воды по магистралям предусмотрены регулирующие клапаны 16, 19 и обратный клапан 17. 1 ил.
|