Промышленная Сибирь Ярмарка Сибири Промышленность СФО Электронные торги НОУ-ХАУ Электронные магазины Карта сайта
 
 

Поиск патентов

Как искать?
Реферат
Название
Публикация
Регистрационный номер
Имя заявителя
Имя изобретателя
Имя патентообладателя

    





Оформить заказ и задать интересующие Вас вопросы Вы можете напрямую c 6-00 до 14-30 по московскому времени кроме сб, вс. whatsapp 8-950-950-9888

На данной странице представлена ознакомительная часть выбранного Вами патента

Для получения более подробной информации о патенте (полное описание, формула изобретения и т.д.) Вам необходимо сделать заказ. Нажмите на «Корзину»


СПОСОБ ОРГАНИЗАЦИИ СМЕСЕОБРАЗОВАНИЯ В ДВИГАТЕЛЕ ВНУТРЕННЕГО СГОРАНИЯ

Номер публикации патента: 2432473

Вид документа: C2 
Страна публикации: RU 
Рег. номер заявки: 2010100894/06 
  Сделать заказПолучить полное описание патента

Редакция МПК: 
Основные коды МПК: F02B023/06   F01L001/28    
Аналоги изобретения: RU 2361093 С2, 10.07.2009. SU 266454 А, 06.07.1970. SU 1721276 A1, 23.03.1992. US 5020486 А, 04.06.1991. US 2416512 А, 25.02.1947. DE 2451834 A1, 15.04.1976. 

Имя заявителя: Лаптев Александр Викторович (RU) 
Изобретатели: Лаптев Александр Викторович (RU) 
Патентообладатели: Лаптев Александр Викторович (RU) 

Реферат


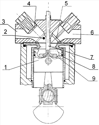
Изобретение относится к двигателестроению и может быть использовано при конструировании и разработке простых и экономичных двигателей внутреннего сгорания. Способ организации смесеобразования в двигателе внутреннего сгорания с системой газораспределения, содержащей как минимум один клапан, в котором камера сгорания выполнена в углублении поршня размером более диаметра тарелки клапана и глубиной не менее длины хода клапана, при этом топливовоздушную смесь направляют в камеру сгорания в виде кольцевой струи через кольцевой зазор, образуемый камерой сгорания и обтекателем на тарелке клапана под действием разрежения, создаваемого клапаном в камере сгорания при ходе поршня от верхней мертвой точки. Заполняя объем камеры сгорания, струя преобразуется в кольцевой или тороидальный вихрь в зависимости от формы камеры. В конце такта сжатия обтекатель входит в камеру сгорания, уменьшая ее проходное сечение, при этом воздух входит в камеру сгорания через кольцевой зазор, образуемый поршнем и обтекателем на тарелке клапана. Изобретение обеспечивает улучшение смесеобразования и повышение экономичности работы двигателя. 3 з.п. ф-лы, 1 ил.

Дирекция сайта "Промышленная Сибирь"
Россия, г.Омск, ул.Учебная, 199-Б, к.408А
Сайт открыт 01.11.2000
© 2000-2018 Промышленная Сибирь
Разработка дизайна сайта:
Дизайн-студия "RayStudio"