|
На данной странице представлена ознакомительная часть выбранного Вами патента
Для получения более подробной информации о патенте (полное описание, формула изобретения и т.д.) Вам необходимо сделать заказ. Нажмите на «Корзину»
| СПОСОБ РАБОТЫ ДВУХТАКТНОГО ДВИГАТЕЛЯ ВНУТРЕННЕГО СГОРАНИЯ |  |
Номер публикации патента: 2173398 |  |
| Редакция МПК: | 7 | | Основные коды МПК: | F02B019/02 F02D015/04 | | Аналоги изобретения: | US 5333582 A, 02.08.1994. SU 1650932 A1, 03.05.1991. SU 1343059 A1, 07.10.1987. US 4846125 A, 11.07.1989. US 4289097 A, 15.09.1989. |
| Имя заявителя: | Ибадуллаев Гаджикадир Алиярович | | Изобретатели: | Ибадуллаев Г.А. | | Патентообладатели: | Ибадуллаев Гаджикадир Алиярович |
Реферат |  |
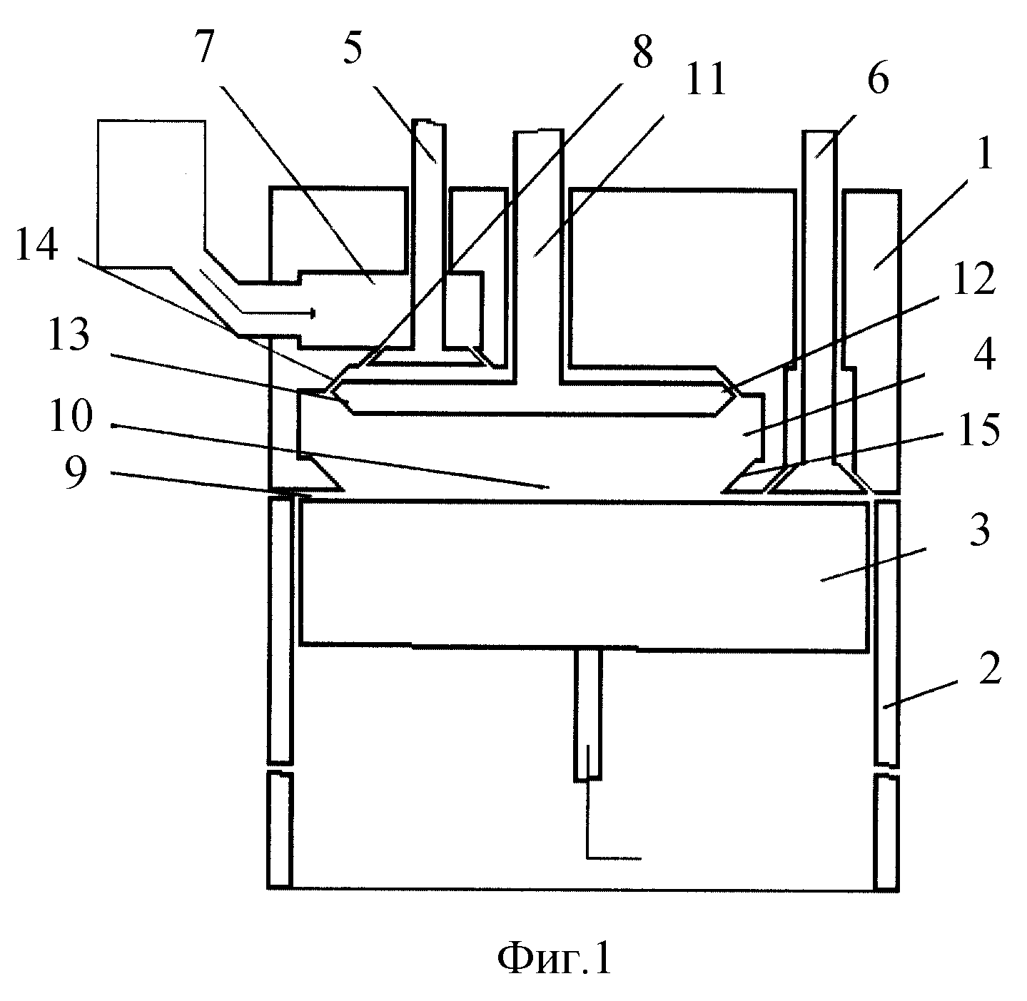
Изобретение может быть использовано в двухтактных двигателя внутреннего сгорания. Способ работы двухтактного двигателя внутреннего сгорания заключается в сжатии свежего заряда воздуха или горючей смеси, подаче свежего заряда в камеру сгорания, выполненную в головке блока цилиндров, закрытии впускным клапаном впускного отверстия, отделяющего накопительную полость свежего заряда от камеры сгорания, открытии перепускного клапана, разделяющего камеру сгоранию от рабочей полости цилиндра, воспламенении горючей смеси в камере сгорания, перепуске продуктов сгорания в рабочую полость из камеры сгорания через перепускное отверстие. При подходе поршня к нижней мертвой точке, перепускной клапан перемещается по направлению к нижней мертвой точке, перекрывая перепускное отверстие камеры сгорания своей уплотняющей поверхностью от рабочей полости цилиндра, впускной клапан открывает впускное отверстие, производя продувку камеры сгорания. При перемещении поршня к верхней мертвой точке на такте выхлопа при открытом выпускном клапане открывается перепускной клапан, производя продувку камеры сгорания и рабочей полости цилиндра. Момент начала закрытия перепускного и выпускного клапанов после окончания продувки регулируют в зависимости от величины нагрузки двигателя, обеспечивая более ранний момент начала закрытия клапанов при увеличении мощности двигателя и более поздний момент начала закрытия клапанов при снижении мощности. Обеспечивают сохранение неизменной продолжительности от начала перемещения клапанов из открытого положения до остановки их в закрытом положении при всех режимах работы двигателя. Технический результат заключается в повышении эффективности двухтактного процесса работы двигателя. 4 з.п. ф-лы, 3 ил.
|