|
На данной странице представлена ознакомительная часть выбранного Вами патента
Для получения более подробной информации о патенте (полное описание, формула изобретения и т.д.) Вам необходимо сделать заказ. Нажмите на «Корзину»
| ДВИГАТЕЛЬ ВНУТРЕННЕГО СГОРАНИЯ |  |
Номер публикации патента: 2166650 |  |
| Редакция МПК: | 7 | | Основные коды МПК: | F02B023/00 | | Аналоги изобретения: | DE 4114721 A1, 19.11.1992. SU 1050582 A, 23.10.1983. SU 1617165 A1, 30.12.1990. DE 3727038 A1, 23.02.1989. WO 90/08883 A, 09.08.1990. |
| Имя заявителя: | Смольский Любомир Асафатович | | Изобретатели: | Смольский Л.А. | | Патентообладатели: | Смольский Любомир Асафатович |
Реферат |  |
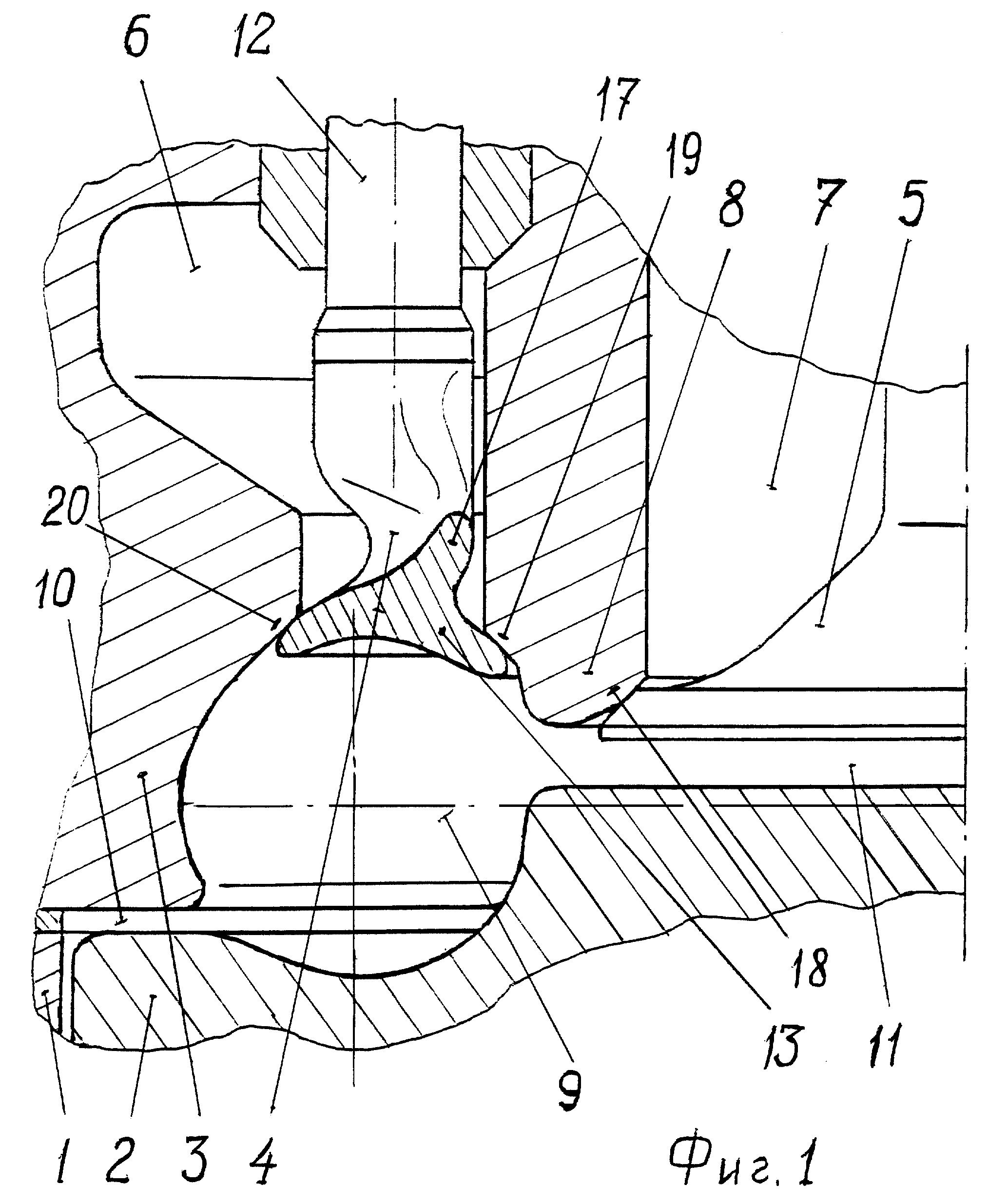
Изобретение относится к двигателестроению, преимущественно к поршневым двигателям внутреннего сгорания (ДВС). ДВС, содержащий по меньшей мере один цилиндр, размещенный в нем поршень, головку цилиндра, снабженную свечой зажигания и/или по меньшей мере одной форсункой, двумя независимыми клапанами, центрально-расположенным выпускным и окружающим его впускным кольцевым, центральным и кольцевым каналами, размежеванными кольцевой перемычкой, и входным впускным каналом, соединенным с кольцевой , а также камеру сгорания. Кольцо впускного клапана снабжено буртиком, охватывающим с зазором кольцевую перемычку, а камера сгорания обрамлена поверхностями кольцевого клапана, головки цилиндра и поршня и снабжена вытеснительными полостями, при этом центральная полость примыкает к выпускному клапану, а периферийная охватывает камеру сгорания в половине, ближней к цилиндру, и образует кольцевой выступ головки цилиндра. Двигатель может быть выполнен в варианте с принудительным зажиганием или с воспламенением смеси от сжатия. Изобретение обеспечивает повышение эффективности сжигания топлива, уменьшение расхода топлива и улучшает экологию. 4 з.п. ф-лы, 4 ил.
|