|
На данной странице представлена ознакомительная часть выбранного Вами патента
Для получения более подробной информации о патенте (полное описание, формула изобретения и т.д.) Вам необходимо сделать заказ. Нажмите на «Корзину»
| РАДИАТОР |  |
Номер публикации патента: 2162155 |  |
| Редакция МПК: | 7 | | Основные коды МПК: | F01P009/04 F28F001/32 | | Аналоги изобретения: | 1. SU 357841 A, 25.06.1978. 2. SU 364752 A, 28.12.1972. 3. SU 133878 A1, 30.08.1987. 4. FR 2668250 A1, 24.04.1992. 5. GB 1432359 A, 14.04.1976. 6. FR 2472733 A1, 03.07.1981. |
| Имя заявителя: | Машуков Хасан Мухамедович | | Изобретатели: | Машуков Х.М. Афанасенко В.В. Соломонов Л.С. | | Патентообладатели: | Машуков Хасан Мухамедович Афанасенко Василий Васильевич Соломонов Лев Семенович |
Реферат |  |
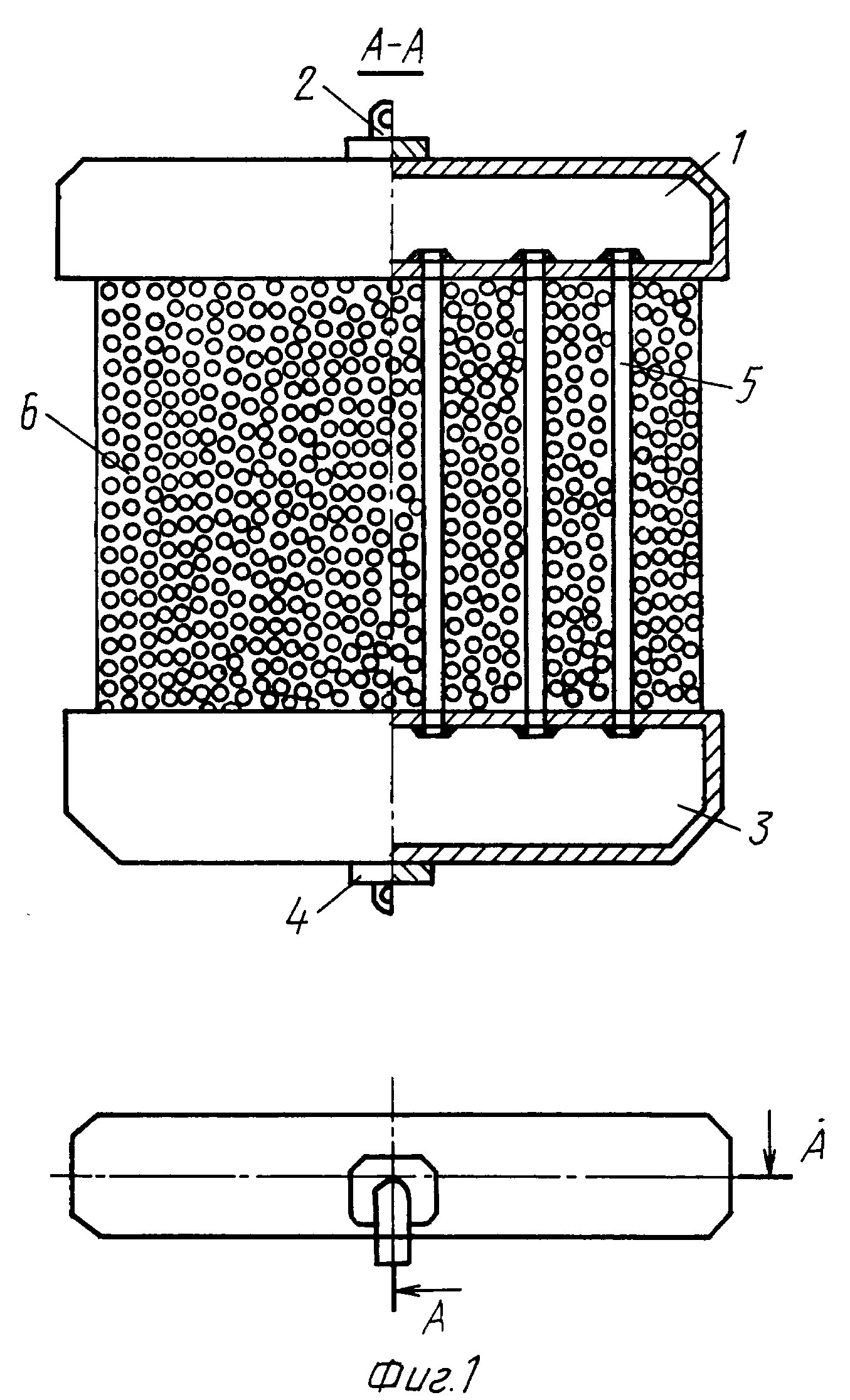
Изобретение относится к теплотехнике, преимущественно к транспортным средствам, а именно к системам охлаждения двигателя, например, автомобильного. В предлагаемом радиаторе, содержащем верхний и нижний бачки и расположенную между ними сердцевину, состоящую из трубок, по которым протекает охлаждаемая жидкость, и извилистых каналов для охлаждающего воздуха, каналы для охлаждающего воздуха в сердцевине образованы из пористого металла, заполняющего пространство между упомянутыми трубками, боковыми стенками и передней и задней поверхностями сердцевины и полученного в указанном объеме из расплавленного компактного металла путем заполнения упомянутого пространства зернистым материалом, температура плавления которого выше температуры плавления требуемого пористого металла, нагревания зернистого материала и упомянутых трубок до температуры, близкой к температуре плавления компактного металла, заполнения полостей между зернами зернистого материала этим расплавленным металлом и удаления зернистого материала после охлаждения. Изобретение обеспечивает увеличение теплоотдачи, повышение прочности, виброустойчивости и жесткости, упрощение и уменьшение трудоемкости и, соответственно, стоимости изготовления радиатора. 2 з.п.ф-лы, 2 ил.
|