Промышленная Сибирь Ярмарка Сибири Промышленность СФО Электронные торги НОУ-ХАУ Электронные магазины Карта сайта
 
 

Поиск патентов

Как искать?
Реферат
Название
Публикация
Регистрационный номер
Имя заявителя
Имя изобретателя
Имя патентообладателя

    





Оформить заказ и задать интересующие Вас вопросы Вы можете напрямую c 6-00 до 14-30 по московскому времени кроме сб, вс. whatsapp 8-950-950-9888

На данной странице представлена ознакомительная часть выбранного Вами патента

Для получения более подробной информации о патенте (полное описание, формула изобретения и т.д.) Вам необходимо сделать заказ. Нажмите на «Корзину»


РАСШИРИТЕЛЬНЫЙ РЕЗЕРВУАР

Номер публикации патента: 2462604

Вид документа: C1 
Страна публикации: RU 
Рег. номер заявки: 2011125347/06 
  Сделать заказПолучить полное описание патента

Редакция МПК: 
Основные коды МПК: F01P011/02   F01P003/20    
Аналоги изобретения: US 3752132 A, 14.08.1973. US 9390318 B1, 21.05.2002. WO 03042516 A2, 22.05.2003. US 4049047 A, 20.09.1977. SU 1703839 A1, 07.01.1992. SU 1574861 A1, 30.06.1990. SU 1539351 A1, 30.01.1990. 

Имя заявителя: СКАНИА СВ АБ (SE) 
Изобретатели: КАРДОС Зольтан (SE)
СЕДЕРБЕРГ Эрик (SE) 
Патентообладатели: СКАНИА СВ АБ (SE) 
Приоритетные данные: 21.11.2008 SE 0802445-7 

Реферат


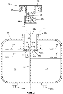
Изобретение может быть использовано в охлаждающих системах двигателей внутреннего сгорания с расширительными резервуарами. Расширительный резервуар (28) содержит канал (34) с входным отверстием (34a) для жидкостного наполнения расширительного резервуара (28), крышку (32), которая в невставленном состоянии оставляет канал (34) открытым и во вставленном состоянии закрывает канал (34), и первую расширительную камеру (29) для вмещения жидкости, которая циркулирует в первой системе. Расширительный резервуар (28) содержит вторую расширительную камеру (30) для вмещения жидкости, которая циркулирует во второй системе, и канал (34) разделяется, на расстоянии от входного отверстия (34a), на первый проход (34b), который ведет жидкость в первую расширительную камеру (29), и второй проход (34c), который направляет жидкость во вторую расширительную камеру (30). Крышка (32) содержит закрывающий элемент (44), который выполнен с возможностью закрывания первого прохода (34b) и/или второго прохода (34c), когда крышка (32) находится во вставленном состоянии. Технический результат заключается в возможности наполнения и технического обслуживания расширительного резервуара от двух раздельных систем. 7 з.п. ф-лы, 4 ил.

Дирекция сайта "Промышленная Сибирь"
Россия, г.Омск, ул.Учебная, 199-Б, к.408А
Сайт открыт 01.11.2000
© 2000-2018 Промышленная Сибирь
Разработка дизайна сайта:
Дизайн-студия "RayStudio"