Промышленная Сибирь Ярмарка Сибири Промышленность СФО Электронные торги НОУ-ХАУ Электронные магазины Карта сайта
 
 

Поиск патентов

Как искать?
Реферат
Название
Публикация
Регистрационный номер
Имя заявителя
Имя изобретателя
Имя патентообладателя

    





Оформить заказ и задать интересующие Вас вопросы Вы можете напрямую c 6-00 до 14-30 по московскому времени кроме сб, вс. whatsapp 8-950-950-9888

На данной странице представлена ознакомительная часть выбранного Вами патента

Для получения более подробной информации о патенте (полное описание, формула изобретения и т.д.) Вам необходимо сделать заказ. Нажмите на «Корзину»


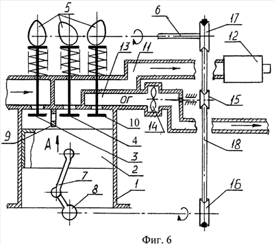
ДВИГАТЕЛЬ ВНУТРЕННЕГО СГОРАНИЯ

Номер публикации патента: 2465469

Вид документа: C2 
Страна публикации: RU 
Рег. номер заявки: 2011104434/06 
  Сделать заказПолучить полное описание патента

Редакция МПК: 
Основные коды МПК: F01L035/04   F02B023/04    
Аналоги изобретения: GB 1485399 А, 08.09.1977. US 5867984 А, 09.02.1999. US 2121813 А, 28.06.1938. US 2360943 А, 24.10.1944. RU 2075611 С1, 20.03.1997. RU 2169276 С2, 20.06.2001. 

Имя заявителя: Волгин Николай Александрович (RU) 
Изобретатели: Волгин Николай Александрович (RU) 
Патентообладатели: Волгин Николай Александрович (RU) 

Реферат


Изобретение относится к четырехтактным поршневым двигателям внутреннего сгорания (ДВС). Техническим результатом является снижение токсичности продуктов сгорания и повышение удельной мощности. Сущность изобретения заключается в том, что ДВС имеет два выпускных клапана (4, 10), которые соединяют цилиндр с разными коллекторами (11, 13 соответственно). Клапан (4) открывается, как обычно, до нижней мертвой точки такта рабочего хода. Через него и коллектор высокого давления (11) уходит основная часть (до 95%) отработавших газов, которые поступают в систему нейтрализации и глушения. В конце такта выпуска этот клапан закрывается и открывается выпускной клапан (10). Через него и его коллектор низкого давления (13) происходит продувка ОГ в атмосферу. Повысить качество продувки помогает поперечная перфорированная перегородка (9). Она устанавливается между впускными и выпускными клапанами, вносит дополнительное гидравлическое сопротивление продувочному воздуху на кратчайшем пути от впускного к выпускному клапану и заставляет воздух в большей степени двигаться по периферии камеры сгорания, продувая оттуда остаточные газы. Дополнительное разрежение на выходе коллектора (13) создает вакуумный насос (14), приводимый от ремня генератора или распредвала. 3 з.п. ф-лы, 11 ил.

Дирекция сайта "Промышленная Сибирь"
Россия, г.Омск, ул.Учебная, 199-Б, к.408А
Сайт открыт 01.11.2000
© 2000-2018 Промышленная Сибирь
Разработка дизайна сайта:
Дизайн-студия "RayStudio"