|
На данной странице представлена ознакомительная часть выбранного Вами патента
Для получения более подробной информации о патенте (полное описание, формула изобретения и т.д.) Вам необходимо сделать заказ. Нажмите на «Корзину»
| СПОСОБ ПОВЫШЕНИЯ ЭКОНОМИЧНОСТИ ТЕПЛОВЫХ И ХОЛОДИЛЬНЫХ КОМБИНИРОВАННЫХ УСТАНОВОК |  |
Номер публикации патента: 2170357 |  |
| Редакция МПК: | 7 | | Основные коды МПК: | F02C006/18 F01K023/08 | | Аналоги изобретения: | SU 108553 A, 16.04.1958. SU 118178 A, 18.03.1959. DE 3436060 A1, 10.04.1986. DE 19720881 A1, 19.11.1998. US 5267434 A, 07.12.1993. US 5402631 A 04.04.1995. GB 1592666 A, 08.07.1981. |
| Имя заявителя: | Бекнев Виктор Сергеевич | | Изобретатели: | Бекнев В.С. | | Патентообладатели: | Бекнев Виктор Сергеевич |
Реферат |  |
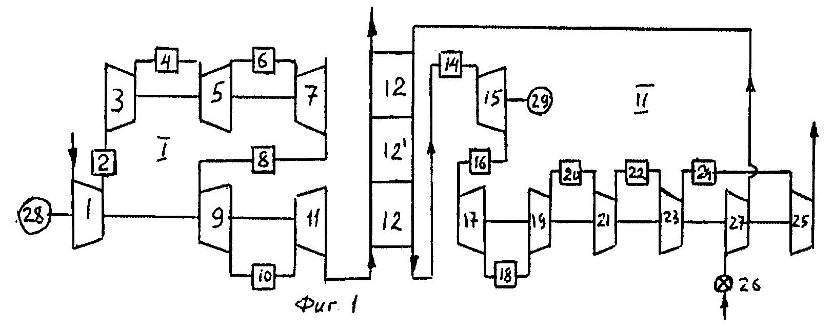
Способ повышения экономичности тепловых комбинированных бинарных установок, состоящих из двух газотурбинных установок или газотурбинной и паротурбинной установок, взаимосвязанных между собой теплообменным аппаратом, заключается в том, что сжатие и расширение рабочего тела в газотурбинных установках осуществляют ступенчато с соответствующим охлаждением при сжатии и дополнительным подогревом при расширении. В установке, состоящей из двух газотурбинных установок, расширение в турбине второй установки осуществляют до давления ниже атмосферного, а теплообмен между установками осуществляют при атмосферном или более низком давлении. В установке, состоящей из газотурбинной и паротурбинной установок, охлаждение рабочего тела в газотурбинной установке осуществляют в три этапа. Первый этап: охлаждение происходит по изобарам с дополнительными сжатиями до давления ниже атмосферного до нижней температуры перегрева пара паротурбинной установки с соответствующей передачей тепла перегретому пару паротурбинной установки. Второй этап: охлаждение происходит ступенчато по изобарам до температуры конденсации пара. Третий этап: охлаждение со ступенчатым сжатием производят до температуры и давления начала цикла с соответствующим подогревом воды в паротурбинной установке. Способ повышения экономичности комбинированных установок в холодильной технике заключается в том, что способы повышения экономичности тепловых комбинированных установок осуществляют в обратном направлении. Осуществление изобретений позволяет повысить КПД установок. 4 с. и 7 з.п. ф-лы, 13 ил.
|