Промышленная Сибирь Ярмарка Сибири Промышленность СФО Электронные торги НОУ-ХАУ Электронные магазины Карта сайта
 
 

Поиск патентов

Как искать?
Реферат
Название
Публикация
Регистрационный номер
Имя заявителя
Имя изобретателя
Имя патентообладателя

    





Оформить заказ и задать интересующие Вас вопросы Вы можете напрямую c 6-00 до 14-30 по московскому времени кроме сб, вс. whatsapp 8-950-950-9888

На данной странице представлена ознакомительная часть выбранного Вами патента

Для получения более подробной информации о патенте (полное описание, формула изобретения и т.д.) Вам необходимо сделать заказ. Нажмите на «Корзину»


ПЛАСТИНЧАТАЯ МАШИНА МИЛЛЬ

Номер публикации патента: 2399769

Вид документа: C1 
Страна публикации: RU 
Рег. номер заявки: 2009114640/06 
  Сделать заказПолучить полное описание патента

Редакция МПК: 
Основные коды МПК: F01C009/00   F01C017/02   F01C017/06    
Аналоги изобретения: RU 2123122 C1, 10.12.1998. RU 2188330 C2, 27.08.2002. RU 2240432 C1, 20.11.2004. US 5794573 A, 18.08.1998. US 6349679 В1, 26.02.2002. 

Имя заявителя: Милль Владимир Александрович (RU) 
Изобретатели: Милль Владимир Александрович (RU) 
Патентообладатели: Милль Владимир Александрович (RU) 

Реферат


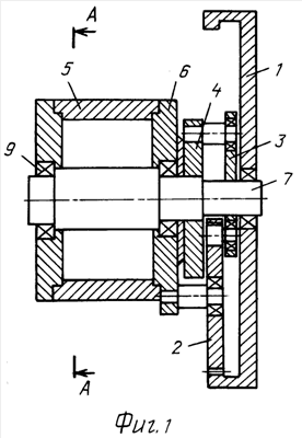
Изобретение относится к машиностроению. Пластинчатая машина содержит цилиндрический корпус с торцевыми крышками и с впускными и выпускными каналами. Внутри корпуса установлен вал с возможностью вращения. На валу с образованием рабочих камер закреплены рабочие элементы. Пластинчатая машина дополнительно содержит маховик, шестерню, шатун и кулису. Кулиса жестко закреплена на валу и взаимосвязана с шатуном. Шатун взаимодействует с шестерней, находящейся в зацеплении с маховиком. Пластинчатая машина содержит две перегородки с впускными и выпускными каналами, жестко закрепленные на внутренней поверхности цилиндрического корпуса по всей длине, расположенные равномерно и параллельно оси вращения. В поперечном сечении перегородки представляют собой равнобедренную трапецию. Во впускные и выпускные каналы перегородок и цилиндрического корпуса установлены клапаны. Рабочие элементы жестко закреплены по всей длине вала и представляют собой две рабочие пластины, которые снабжены герметизирующими элементами. Техническим результатом является повышение надежности, увеличение ресурса, упрощение конструкции и уменьшение габаритных размеров машины. 2 з.п.ф-лы, 2 ил.

Дирекция сайта "Промышленная Сибирь"
Россия, г.Омск, ул.Учебная, 199-Б, к.408А
Сайт открыт 01.11.2000
© 2000-2018 Промышленная Сибирь
Разработка дизайна сайта:
Дизайн-студия "RayStudio"