Промышленная Сибирь Ярмарка Сибири Промышленность СФО Электронные торги НОУ-ХАУ Электронные магазины Карта сайта
 
 

Поиск патентов

Как искать?
Реферат
Название
Публикация
Регистрационный номер
Имя заявителя
Имя изобретателя
Имя патентообладателя

    





Оформить заказ и задать интересующие Вас вопросы Вы можете напрямую c 6-00 до 14-30 по московскому времени кроме сб, вс. whatsapp 8-950-950-9888

На данной странице представлена ознакомительная часть выбранного Вами патента

Для получения более подробной информации о патенте (полное описание, формула изобретения и т.д.) Вам необходимо сделать заказ. Нажмите на «Корзину»


РАБОЧАЯ КАМЕРА РОТОРНОГО ДВИГАТЕЛЯ ВНУТРЕННЕГО СГОРАНИЯ

Номер публикации патента: 2374463

Вид документа: C1 
Страна публикации: RU 
Рег. номер заявки: 2008131969/06 
  Сделать заказПолучить полное описание патента

Редакция МПК: 
Основные коды МПК: F02B053/06   F02B055/02   F02B055/16   F01C001/32    
Аналоги изобретения: RU 2307255 С1, 27.09.2007. SU 39125 А, 31.10.1934. US 1363256 A, 28.12.1920. US 3398725 A, 27.08.1968. 

Имя заявителя: Карасев Анатолий Владимирович (RU) 
Изобретатели: Карасев Анатолий Владимирович (RU) 
Патентообладатели: Карасев Анатолий Владимирович (RU) 

Реферат


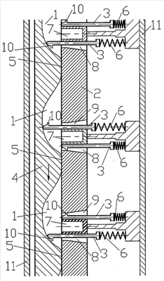
Изобретение относится к двигателестроению. Рабочая камера роторного двигателя внутреннего сгорания размещена в кольцевой области, образованной конструктивными деталями, которыми являются коаксиально расположенные трубчатые элементы и прилегающие к ним боковые диски. Одна из конструктивных деталей выполнена с пазами, в которых с возможностью возвратно-поступательного движения размещены лопасти. Между лопастями расположена камера сгорания. На другой конструктивной детали, расположенной напротив конструктивной детали с пазами, размещены профилированные выступы. Профилированные выступы отделяют указанную выше рабочую камеру от других таких же рабочих камер, размещенных в кольцевой области. В детали с пазами выполнены впускные и выпускные каналы со стороны, противоположной камере сгорания относительно каждого паза, а каждая лопасть с этой же стороны снабжена выступом с возможностью закрытия этим выступом соответствующего впускного или выпускного канала. Техническим результатом является упрощение конструкции впускных и выпускных трактов и повышение эффективности их работы. 1 ил.

Дирекция сайта "Промышленная Сибирь"
Россия, г.Омск, ул.Учебная, 199-Б, к.408А
Сайт открыт 01.11.2000
© 2000-2018 Промышленная Сибирь
Разработка дизайна сайта:
Дизайн-студия "RayStudio"