Промышленная Сибирь Ярмарка Сибири Промышленность СФО Электронные торги НОУ-ХАУ Электронные магазины Карта сайта
 
 

Поиск патентов

Как искать?
Реферат
Название
Публикация
Регистрационный номер
Имя заявителя
Имя изобретателя
Имя патентообладателя

    





Оформить заказ и задать интересующие Вас вопросы Вы можете напрямую c 6-00 до 14-30 по московскому времени кроме сб, вс. whatsapp 8-950-950-9888

На данной странице представлена ознакомительная часть выбранного Вами патента

Для получения более подробной информации о патенте (полное описание, формула изобретения и т.д.) Вам необходимо сделать заказ. Нажмите на «Корзину»


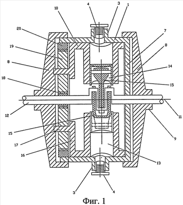
ДВИГАТЕЛЬ ВНУТРЕННЕГО СГОРАНИЯ

Номер публикации патента: 2400640

Вид документа: C2 
Страна публикации: RU 
Рег. номер заявки: 2008139674/06 
  Сделать заказПолучить полное описание патента

Редакция МПК: 
Основные коды МПК: F02B057/08   F01B013/06    
Аналоги изобретения: US 4010719 А, 08.03.1977. RU 2006117294 А, 10.12.2007. RU 2082892 С1, 27.06.1997. US 5365892 А, 22.11.1994. US 4256061 А, 17.03.1981. 

Имя заявителя: Шлык Валерий Михайлович (RU) 
Изобретатели: Шлык Валерий Михайлович (RU) 
Патентообладатели: Шлык Валерий Михайлович (RU) 

Реферат


Изобретение относится к двигателям внутреннего сгорания. Двигатель внутреннего сгорания содержит цилиндрический корпус, систему зажигания и приводной механизм. Цилиндрический корпус имеет торцевые крышки и отверстия для элементов зажигания, для впуска топлива и выпуска отработанных газов. В цилиндрическом корпусе расположен барабан с возможностью его вращения в корпусе вокруг центральной оси двигателя, с которой совпадает ось коленвала. Коленвал проходит через отверстия на торцевых крышках. На поверхности барабана выполнены два и более отверстия для рабочих цилиндров, расположенных соосно или на радиальных осях и обрамленных компрессионными и маслосъемными кольцами. Рабочие цилиндры снабжены поршнями, соединенными с шатунами. Цилиндрический корпус имеет отверстия для компрессионных втулок. Поверхность барабана имеет технологические углубления для уменьшения трения при работе двигателя и выступающую часть в виде дорожки по всей поверхности барабана, служащую для закрывания отверстий в цилиндрическом корпусе. При такте зажигания воспламенение топлива позволяет обеспечить сгорание чистого топлива, находящегося в рабочем цилиндре, и топливной смеси, образующейся из чистого топлива и остаточных выхлопных газов, находящейся в пространстве, регулируемом компрессионной втулкой. Техническим результатом является снижение сложности конструкции, повышение надежности и стабильности работы, увеличение мощности, уменьшение размеров и веса двигателя и снижение загрязнения окружающей среды. 4 з.п. ф-лы, 9 ил.

Дирекция сайта "Промышленная Сибирь"
Россия, г.Омск, ул.Учебная, 199-Б, к.408А
Сайт открыт 01.11.2000
© 2000-2018 Промышленная Сибирь
Разработка дизайна сайта:
Дизайн-студия "RayStudio"