Промышленная Сибирь Ярмарка Сибири Промышленность СФО Электронные торги НОУ-ХАУ Электронные магазины Карта сайта
 
 

Поиск патентов

Как искать?
Реферат
Название
Публикация
Регистрационный номер
Имя заявителя
Имя изобретателя
Имя патентообладателя

    





Оформить заказ и задать интересующие Вас вопросы Вы можете напрямую c 6-00 до 14-30 по московскому времени кроме сб, вс. whatsapp 8-950-950-9888

На данной странице представлена ознакомительная часть выбранного Вами патента

Для получения более подробной информации о патенте (полное описание, формула изобретения и т.д.) Вам необходимо сделать заказ. Нажмите на «Корзину»


СПОСОБ ПРОВЕДЕНИЯ ВОССТАЮЩИХ ВЫРАБОТОК ДЛЯ ТРАНСПОРТИРОВКИ ПОЛЕЗНОГО ИСКОПАЕМОГО

Номер публикации патента: 2366794

Вид документа: C1 
Страна публикации: RU 
Рег. номер заявки: 2008119756/03 
  Сделать заказПолучить полное описание патента

Редакция МПК: 
Основные коды МПК: E21B007/28   E21D003/00   E21F013/04    
Аналоги изобретения: SU 723115 A1, 25.03.1980. SU 1350370 A1, 07.11.1987. SU 1723302 A1, 30.03.1992. RU 2152503 A1, 07.10.2000. RU 2170804 A1, 20.07.2001. RU 2299303 A1, 20.01.2007. DE 3519109 A1, 12.05.1985. DE 4214410 A1, 11.11.1993. 

Имя заявителя: Государственное образовательное учреждение высшего профессионального образования "СИБИРСКИЙ ГОСУДАРСТВЕННЫЙ ИНДУСТРИАЛЬНЫЙ УНИВЕРСИТЕТ" (RU) 
Изобретатели: Федоренко Анатолий Иванович (RU)
Сухоруков Владимир Афанасьевич (RU)
Фрянов Виктор Николаевич (RU)
Шенгерей Светлана Владимировна (RU)
Сухоруков Владислав Владимирович (RU)
Шенгерей Евгений Борисович (RU) 
Патентообладатели: Государственное образовательное учреждение высшего профессионального образования "СИБИРСКИЙ ГОСУДАРСТВЕННЫЙ ИНДУСТРИАЛЬНЫЙ УНИВЕРСИТЕТ" (RU) 

Реферат


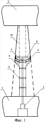
Изобретение относится к горнодобывающей промышленности и может быть использовано при разработке рудных и нерудных месторождений для транспортировки полезного ископаемого под действием собственного веса. Техническим результатом является исключение забучивания восстающей выработки, снижение энергоемкости при разрушении горной массы, создание безопасных условий труда. Для этого способ включает бурение передовой скважины до проектной длины с помощью расширителя переднего хода. Затем его убирают и на освободившемся шлицевом валу собирают расширитель обратного хода, состоящий из телескопических крестовин и направляющего фонаря, после чего передовую скважину расширяют обратным ходом до требуемой формы «усеченного конуса». 2 ил.

Дирекция сайта "Промышленная Сибирь"
Россия, г.Омск, ул.Учебная, 199-Б, к.408А
Сайт открыт 01.11.2000
© 2000-2018 Промышленная Сибирь
Разработка дизайна сайта:
Дизайн-студия "RayStudio"