|
На данной странице представлена ознакомительная часть выбранного Вами патента
Для получения более подробной информации о патенте (полное описание, формула изобретения и т.д.) Вам необходимо сделать заказ. Нажмите на «Корзину»
| СПОСОБ ВЫЕМКИ ВЫБРОСООПАСНЫХ СОЛЯНЫХ ГОРНЫХ ПОРОД |  |
Номер публикации патента: 2163296 |  |
| Редакция МПК: | 7 | | Основные коды МПК: | E21C041/20 E21F005/00 | | Аналоги изобретения: | МЕДВЕДЕВ И.И. и др. Газовыделения на калийных рудниках. - М.: Недра, 1974, с.157 - 160. SU 909205 A, 28.02.1982. SU 1488520 A1, 23.06.1989. SU 1573207 A1, 23.06.1990. FR 2425536 A1, 11.02.1980. МЕДВЕДЕВ И.И. и др. Борьба с пылью на калийных рудниках. - М.: Недра, 1977, с.88 - 90, 105 - 106. |
| Имя заявителя: | Старцев Владимир Андреевич | | Изобретатели: | Старцев В.А. | | Патентообладатели: | Старцев Владимир Андреевич |
Реферат |  |
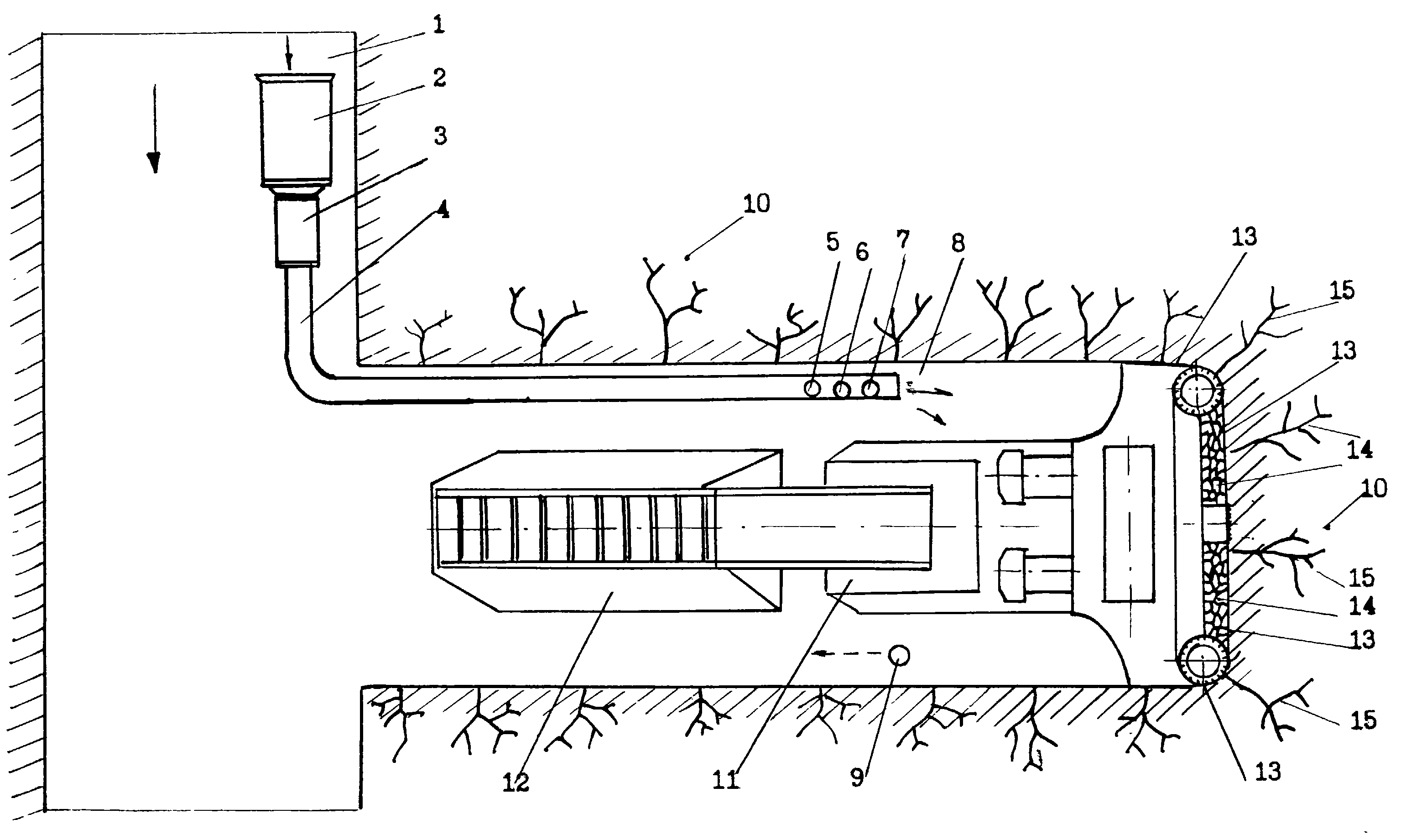
Способ может быть использован в горном деле при подземном способе отработки выбросоопасных соляных горных пород, сложенных гигроскопическими водорастворимыми минералами. Изобретение решает задачу повышения безопасности, экономичности и технологичности ведения горных пород при выемке выбросоопасных соляных горных пород путем создания условий для динамического естественного покрытия свежеобразованных поверхностей трещин, образующих в деформируемом, вмещающем проводимую горную выработку в соляном массиве, и имеющих аэродинамическую связь с объемом выработки, пленкой насыщенного соляного раствора. Выемку соляных горных пород ведут одновременно с воздействием растворителем на соляной массив, вмещающий горную выработку, на свежеобразованные в процессе выемки ограждающие горную выработку поверхности, на отдельности горной массы, образующейся в процессе выемки. В качестве растворителя используют пары воды, которые подают в проводимую горную выработку вместе с вентиляционным воздухом в количестве, обеспечивающем покрытие пленкой насыщенного соляного раствора свежеобразованных поверхностей, соляных поверхностей отдельностей горной массы и поверхностей трещин, имеющих аэродинамическую связь с объемом проводимой горной выработки. 1 ил.
|