|
На данной странице представлена ознакомительная часть выбранного Вами патента
Для получения более подробной информации о патенте (полное описание, формула изобретения и т.д.) Вам необходимо сделать заказ. Нажмите на «Корзину»
| СПОСОБ И УСТРОЙСТВО ДЛЯ УПРАВЛЕНИЯ ПОДАЧЕЙ ПРИ БУРЕНИИ ГОРНОЙ ПОРОДЫ |  |
Номер публикации патента: 2173384 |  |
| Редакция МПК: | 7 | | Основные коды МПК: | E21B044/06 E21B044/00 | | Аналоги изобретения: | WO 95/28549 А1, 26.10.1995. SU 1118766 A, 15.10.1984. SU 726322 A, 08.04.1980. RU 2013531 С1, 30.05.1994. US 4275793 A, 30.06.1981. US 4271914 A, 09.06.1981. US 3561542 A, 09.02.1971. US 5129464 A, 14.07.1992. EP 0825329 A2, 25.02.1998. WO 94/24415 A1, 27.10.1994. WO 97/08428 A1, 06.03.1997. |
| Имя заявителя: | САНДВИК ТАМРОК ОЙ (FI) | | Изобретатели: | МУОНА Йоуко (FI) | | Патентообладатели: | САНДВИК ТАМРОК ОЙ (FI) | | Номер конвенционной заявки: | 964736 | | Страна приоритета: | FI | | Патентный поверенный: | Томская Елена Владимировна |
Реферат |  |
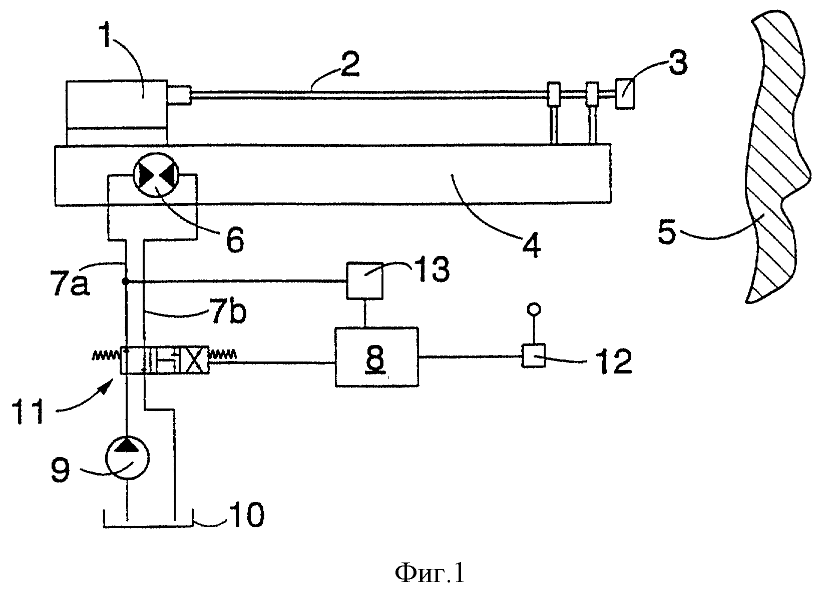
Изобретение относится к управлению подачей машины для бурения горной породы. Задачей изобретения является создание способа и устройства, обеспечивающих регулирование скорости подачи и давления подачи как на стадии бурения, так и в течение фактического бурения. Согласно способу, измеряют давление в напорном трубопроводе двигателя подачи, приводимого в действие напорной текучей средой. Когда измеренное значение ниже заданного порогового значения, регулируют расход напорной текучей среды, подводимой к двигателю подачи, и, следовательно, скорость подачи двигателя. Если измеренное значение давления выше заданного порогового значения, подачу регулируют посредством регулирования давления напорной текучей среды, подаваемой к двигателю. Для этого в напорном трубопроводе двигателя подачи установлен датчик давления. Датчик давления приспособлен для управления подачей напорной текучей среды, подводимой к двигателю, таким образом, что, когда давление ниже заданного порогового значения, управление подачей осуществляют путем регулирования расхода напорной текучей среды, а когда значение давления выше заданного порогового значения, подачу регулируют согласно давлению напорной текучей среды. 2 с. и 3 з.п. ф-лы, 2 ил.
|