|
На данной странице представлена ознакомительная часть выбранного Вами патента
Для получения более подробной информации о патенте (полное описание, формула изобретения и т.д.) Вам необходимо сделать заказ. Нажмите на «Корзину»
| ГИДРОМЕХАНИЧЕСКИЙ СКВАЖИННЫЙ ПЕРФОРАТОР |  |
Номер публикации патента: 2182221 |  |
| Редакция МПК: | 7 | | Основные коды МПК: | E21B043/114 | | Аналоги изобретения: | RU 2151858 С1, 27.06.2000. RU 2161697 С2, 10.01.2001. RU 2129209 С1, 20.04.1999. RU 2070279 С1, 10.12.1996. RU 2105137 С1, 20.02.1998. RU 2039220 C1, 09.07.1995. SU 1668640 А1, 07.08.1991. US 4392527 A, 12.07.1983. US 4106561 A, 15.08.1978. US 4220201 A, 02.09.1980. |
| Имя заявителя: | Кузьмин Павел Геннадьевич | | Изобретатели: | Съедин В.А. Кузьмин П.Г. | | Патентообладатели: | Кузьмин Павел Геннадьевич |
Реферат |  |
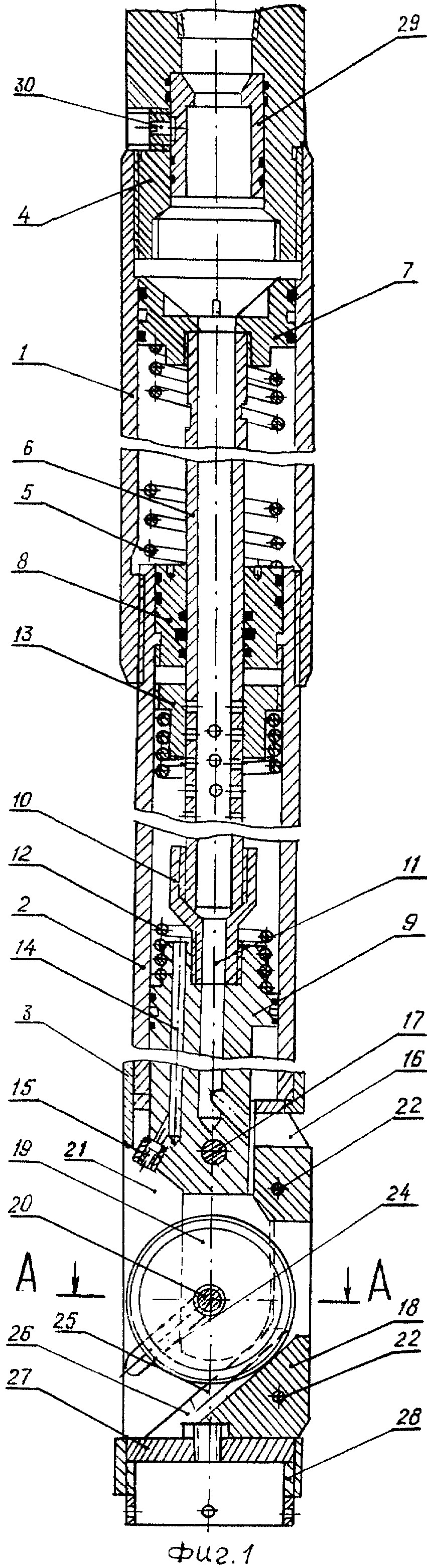
Изобретение относится к бурению и эксплуатации скважин, в частности к устройству для создания перфорационных щелей в обсадных колоннах, цементном камне и горной породе. Обеспечивает создание удобного обслуживания, простого по конструкции, надежного в работе устройства с широким диапазоном использования. Сущность изобретения: устройство включает корпус, выдвижной режущий инструмент в виде накатного диска, гидромониторную насадку и клиновой паз со съемными пластинами. Они расположены под углом к оси устройства. Ось накатного диска выполнена ступенчатой с меньшим диаметром по концам и размещена в пазах, параллельных клиновому пазу. Устройство снабжено полым штоком-фильтром, расположенным в двух гидроцилиндрах, установленных герметично относительно друг друга. Нижний гидроцилиндр снабжен подпружиненным поршнем-толкателем. Он выполнен с центральным и боковым гидроканалами и связан с осью накатного диска посредством двух фигурных пластин. Они контактируют со съемными пластинами клинового паза. Клиновой паз выполнен съемным и установлен на корпусе устройства с возможностью скольжения по обсадной колонне во время работы накатного диска. Концы оси накатного диска расположены в направляющих пазах боковых пластин. Они охватывают клиновой паз, фигурные пластины и накатный диск с двух сторон. 2 з.п. ф-лы, 2 ил.
|