|
На данной странице представлена ознакомительная часть выбранного Вами патента
Для получения более подробной информации о патенте (полное описание, формула изобретения и т.д.) Вам необходимо сделать заказ. Нажмите на «Корзину»
| СМЕСИТЕЛЬНАЯ УСТАНОВКА ДЛЯ ПРИГОТОВЛЕНИЯ РАСТВОРОВ |  |
Номер публикации патента: 2184204 |  |
| Редакция МПК: | 7 | | Основные коды МПК: | E21B021/06 B28C005/38 | | Аналоги изобретения: | RU 2150381 C1, 10.06.2000. RU 2150379 C1, 10.06.2000. SU 1298336 A1, 23.03.1987. SU 1600966 A1, 23.10.1990. SU 561777 A, 15.06.1977. SU 994682 A, 17.02.1983. WO 0482930 A2, 29.04.1992. US 4474254 A, 02.10.1984. US 5507572 A, 16.04.1996. БУХАЛЕНКО Е.И. и др. Монтаж, обслуживание и ремонт нефтепромыслового оборудования. - М.: Недра, 1985, с.266. |
| Имя заявителя: | Открытое акционерное общество "Научно-производственное объединение "Бурение" | | Изобретатели: | Рябоконь С.А. Макушев Н.И. | | Патентообладатели: | Открытое акционерное общество "Научно-производственное объединение "Бурение" |
Реферат |  |
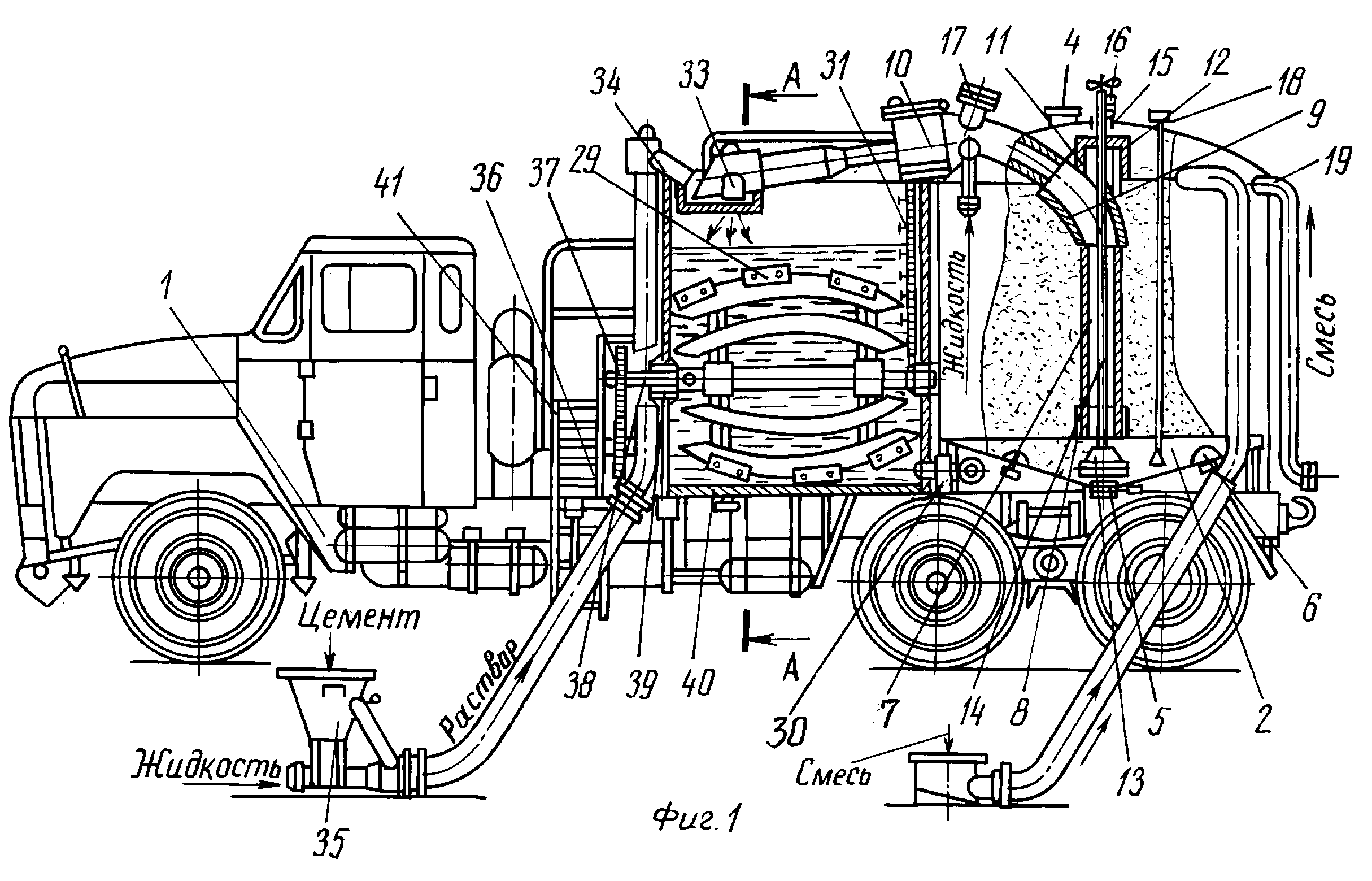
Изобретение относится к смесительной технике и может быть использовано в нефтяной и газовой промышленности, в геологоразведке, для приготовления тампонажных, буровых и подобных растворов, буферных жидкостей, суспензий, эмульсий и т.д. при цементировании обсадных колонн, при бурении и капитальном ремонте нефтяных и газовых скважин, а также в строительной и других отраслях промышленности. Установка содержит транспортное средство с размещенной на нем мешалкой, состоящей из двух смежных камер с перемешивающими устройствами в каждой из них, и сетчатыми емкостями, а также бункером для приема и аккумулирования сыпучих материалов. Бункер внутри оснащен приемно-распределительным устройством, выполненным в виде тройника, с тремя патрубками. Первый патрубок, вход в который выполнен в виде конфузора, снабжен запорным органом. Второй патрубок, расположенный соосно с первым, сверху оснащен глухой втулкой с уплотнительным элементом. Третий патрубок подсоединен к гидропневмосмесителю и снабжен регулятором ввода в него атмосферного воздуха. Запорный орган и глухая втулка расположены на определенном расстоянии друг от друга и прикреплены к штоку. Верхним концом шток проходит через герметизированное уплотнительное устройство в крышке бункера и снабжен стопорным устройством. Бункер и камеры мешалки снабжены соответственно измерителем уровня сыпучих материалов и раствора. Смесительная установка обеспечивает приготовление одновременно и последовательно двух типов растворов с заданной регулируемой плотностью путем регулируемого отбора тампонажных цементов из бункера с одновременным их пополнением за счет постоянного поддержания в его полости определенного пониженного давления и автоматического исключения возможного превышения допустимой величины вакуума в полости бункера и смятия его атмосферным давлением, одновременно обеспечивая при этом обрушение сводов сыпучих материалов с конусных стенок атмосферным воздухом, поступающим в его полость. Применение предлагаемой смесительной установки позволит обеспечивать заданные режимы и качество цементирования обсадных колонн нефтяных и газовых скважин с различными геолого-техническими условиями. 2 ил.
|