Промышленная Сибирь Ярмарка Сибири Промышленность СФО Электронные торги НОУ-ХАУ Электронные магазины Карта сайта
 
 

Поиск патентов

Как искать?
Реферат
Название
Публикация
Регистрационный номер
Имя заявителя
Имя изобретателя
Имя патентообладателя

    





Оформить заказ и задать интересующие Вас вопросы Вы можете напрямую c 6-00 до 14-30 по московскому времени кроме сб, вс. whatsapp 8-950-950-9888

На данной странице представлена ознакомительная часть выбранного Вами патента

Для получения более подробной информации о патенте (полное описание, формула изобретения и т.д.) Вам необходимо сделать заказ. Нажмите на «Корзину»


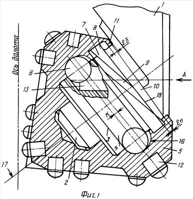
БУРОВОЕ ШАРОШЕЧНОЕ ДОЛОТО

Номер публикации патента: 2393321

Вид документа: C1 
Страна публикации: RU 
Рег. номер заявки: 2009120311/03 
  Сделать заказПолучить полное описание патента

Редакция МПК: 
Основные коды МПК: E21B010/08   E21B010/22    
Аналоги изобретения: SU 350924 A1, 18.09.1972. SU 723089 A1, 05.04.1980. SU 739210 A1, 15.06.1980. SU 977677 A1, 30.11.1982. SU 1023060 A, 15.06.1983. RU 2291271 C1, 10.01.2007. US 3720274 А, 13.03.1973. 

Имя заявителя: Смирнов Вячеслав Геннадьевич (RU) 
Изобретатели: Смирнов Вячеслав Геннадьевич (RU)
Смирнов Игорь Вячеславович (RU)
Панин Николай Митрофанович (RU) 
Патентообладатели: Смирнов Вячеслав Геннадьевич (RU) 

Реферат


Изобретение относится к породоразрушающему инструменту, а именно к буровым шарошечным долотам, преимущественно малого диаметра. Технический результат - повышение эффективности работы долота за счет эффективного разрушения «рейки» на забое скважины и повышения ресурса работы его опоры. Буровое шарошечное долото включает лапы с цапфами, на которых установлены шарошки, смонтированные посредством замкового узла, образованного кольцевой проточкой у основания цапфы, совмещенной с ней винтовой канавкой на цапфе и буртом на торце шарошки, размещенным в рабочем положении в кольцевой проточке цапфы. Особенностью предложенного долота является снабжение его дополнительным шариковым замковым подшипником и выполнение шарошки с расширенной беговой дорожкой под шариковый замковый подшипник, расположенный относительно винтовой дорожки цапфы со стороны оси долота. При этом торцевая поверхность кольцевой проточки и контактирующая с ней боковая поверхность бурта шарошки выполнены наклонными, причем угол наклона их одинаков. Минимальная длина кольцевой проточки больше длины бурта шарошки. 2 з.п. ф-лы, 2 ил.

Дирекция сайта "Промышленная Сибирь"
Россия, г.Омск, ул.Учебная, 199-Б, к.408А
Сайт открыт 01.11.2000
© 2000-2018 Промышленная Сибирь
Разработка дизайна сайта:
Дизайн-студия "RayStudio"