Промышленная Сибирь Ярмарка Сибири Промышленность СФО Электронные торги НОУ-ХАУ Электронные магазины Карта сайта
 
 

Поиск патентов

Как искать?
Реферат
Название
Публикация
Регистрационный номер
Имя заявителя
Имя изобретателя
Имя патентообладателя

    





Оформить заказ и задать интересующие Вас вопросы Вы можете напрямую c 6-00 до 14-30 по московскому времени кроме сб, вс. whatsapp 8-950-950-9888

На данной странице представлена ознакомительная часть выбранного Вами патента

Для получения более подробной информации о патенте (полное описание, формула изобретения и т.д.) Вам необходимо сделать заказ. Нажмите на «Корзину»


КОЛЬЦЕВОЙ БУРОВОЙ ИНСТРУМЕНТ

Номер публикации патента: 2386777

Вид документа: C2 
Страна публикации: RU 
Рег. номер заявки: 2008112788/03 
  Сделать заказПолучить полное описание патента

Редакция МПК: 
Основные коды МПК: E21B010/02    
Аналоги изобретения: SU 474598 A1, 24.09.1975. SU 95830 A1, 08.10.1948. SU 78505 A1, 30.11.1949. SU 361275 A1, 01.11.1973. SU 392240 A1, 29.10.1973. SU 926223 A2, 07.05.1982. SU 1044765 А, 30.09.1983. SU 1645433 A1, 30.04.1991. SU 1799983 A1, 07.03.1993. RU 2268348 C1, 20.01.2006. GB 2417045 A, 15.02.2006. 

Имя заявителя: Данилов Александр Константинович (RU),
ООО "Инновационные строительные технологии" (RU) 
Изобретатели: Данилов Александр Константинович (RU)
Любочко Александр Владимирович (RU)
Данилов Денис Александрович (RU) 
Патентообладатели: Данилов Александр Константинович (RU)
ООО "Инновационные строительные технологии" (RU) 

Реферат


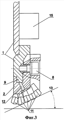
Изобретение относится к шнековым рабочим органам землеройных машин специального назначения, а именно к кольцевому буровому инструменту для разработки мерзлых и прочных грунтов. Технический результат - увеличение эффективности и надежности кольцевого бурения талых, мерзлых и прочных грунтов с каменистыми и валунными включениями. Кольцевой буровой инструмент для разработки мерзлых и прочных грунтов состоит из трубчатого корпуса, рабочей коронки, режущих пластин из твердого сплава, каналов транспортирования разработанного грунта. На конце трубчатого корпуса выполнен кольцевой выступ, на котором закреплена коронка, состоящая из съемных секторов, установленных и зафиксированных от перемещения болтовыми соединениями. На торцах каждого из съемных секторов выполнены расходящиеся по спиральной линии торцевые каналы для транспортировки разработанного грунта и установлены в гнездах режущие пластины твердого сплава таким образом, что обеспечивают полную разработку забоя каждым сектором за один оборот с формированием поверхности забоя конусной формы. При этом каждый сектор имеет технологическое отверстие с выходом на дно гнезда, в котором установлены пластины твердого сплава для удаления их осколков, а, соответственно, на боковой внешней поверхности секторов и трубчатого корпуса выполнены спиральные каналы для транспортирования разработанного грунта, плавно сопрягающиеся с торцевыми каналами, и установлены прерывистые шнековые секторы так, что каждый из последующих секторов опережает предыдущий. 3 ил.

Дирекция сайта "Промышленная Сибирь"
Россия, г.Омск, ул.Учебная, 199-Б, к.408А
Сайт открыт 01.11.2000
© 2000-2018 Промышленная Сибирь
Разработка дизайна сайта:
Дизайн-студия "RayStudio"