|
На данной странице представлена ознакомительная часть выбранного Вами патента
Для получения более подробной информации о патенте (полное описание, формула изобретения и т.д.) Вам необходимо сделать заказ. Нажмите на «Корзину»
| РЕВЕРСИВНЫЙ ПНЕВМОПРОБОЙНИК |  |
Номер публикации патента: 2167246 |  |
| Редакция МПК: | 7 | | Основные коды МПК: | E02F005/18 E21B007/26 | | Аналоги изобретения: | EP 0484839 A2, 13.05.1992. SU 263482 A, 09.09.1970. SU 529284 A, 30.11.1976. SU 1134674 A, 15.01.1985. SU 1313973 A1, 30.05.1987. SU 1535951 A2, 15.01.1990. RU 2054505 C1, 20.02.1996. US 4295533 A, 20.10.1981. |
| Имя заявителя: | Институт горного дела научно-исследовательское учреждение СО РАН | | Изобретатели: | Терсков А.Д. Маслаков П.А. Костылев А.Д. Смоляницкий Б.Н. | | Патентообладатели: | Институт горного дела научно-исследовательское учреждение СО РАН |
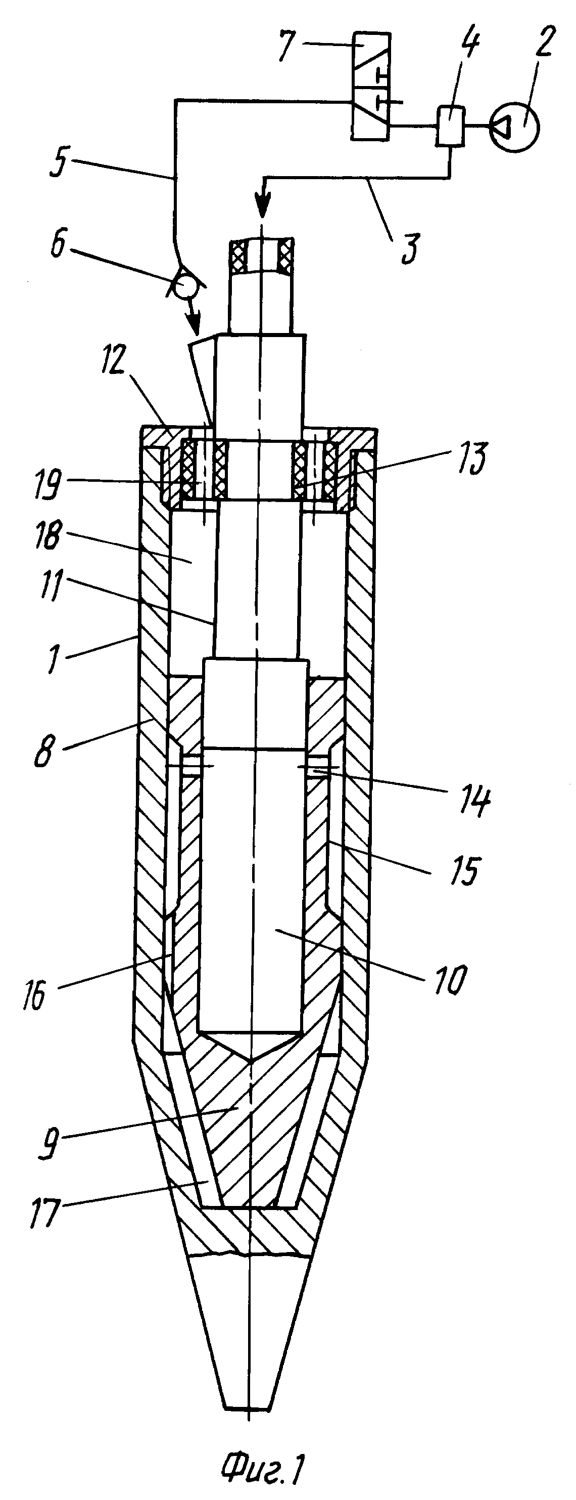
Реферат |  |
Изобретение относится к строительству, а именно к бестраншейной прокладке подземных коммуникаций, и наиболее эффективно может быть использовано в конструкции управляемых реверсивных пневмопробойников для проходки скважин заданной траектории, особенно криволинейных, в уплотняемых грунтах. Реверсивный пневмопробойник содержит корпус, ударник, золотник. Золотник состоит из патрубка и втулки. Втулка установлена на патрубке неподвижно и на ее наружной поверхности в нижней части выполнена по меньшей мере одна проточка, которая по меньшей мере одним радиальным отверстием сообщена с полостью между патрубком и втулкой, причем упомянутая полость сообщена с источником сжатого воздуха через обратный клапан, установленный между этой полостью и переключающим устройством в положении пропуска в нее сжатого воздуха. Изобретение обеспечивает повышение технологичности, надежности, долговечности и стабильности работы реверсивного пневмопробойника. 2 ил.
|