|
На данной странице представлена ознакомительная часть выбранного Вами патента
Для получения более подробной информации о патенте (полное описание, формула изобретения и т.д.) Вам необходимо сделать заказ. Нажмите на «Корзину»
| ПЛАСТМАССОВЫЙ ПРОФИЛЬ ДЛЯ СБОРКИ БЛОКОВ ДЛЯ ЗАКРЫТИЯ ОКОННЫХ И/ИЛИ ДВЕРНЫХ ПРОЕМОВ |  |
Номер публикации патента: 2171347 |  |
| Редакция МПК: | 7 | | Основные коды МПК: | E06B003/22 | | Аналоги изобретения: | 2125640 C1, 27.01.1999. DE 3306335 A1, 23.08.1984. EP 0828052 A2, 11.03.1997. GB 2304775 A, 26.03.1997. RU 2111331 C1, 20.05.1998. |
| Имя заявителя: | Гусев Валерий Александрович | | Изобретатели: | Гусев В.А. | | Патентообладатели: | Гусев Валерий Александрович |
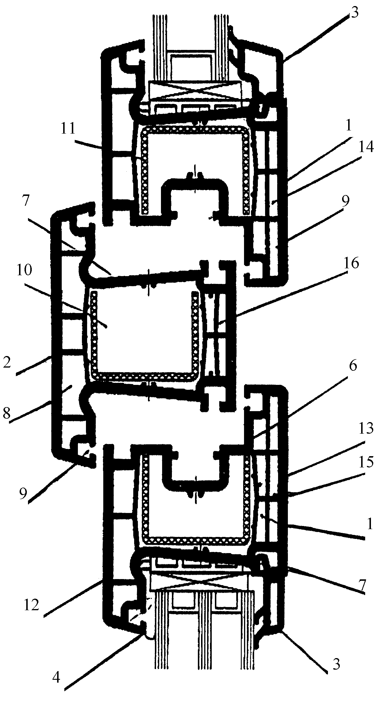
Реферат |  |
Изобретение относится к области строительства и может быть использовано в системах профилей для блоков закрытия оконных и дверных проемов. Пластмассовый профиль для сборки блоков для закрытия оконных и/или дверных проемов содержит продольные стенки, по крайней мере, одна из которых наклонна к оси профиля и которые образуют камеру для размещения металлического армирующего элемента с внешней и внутренней полками, имеющими наружные и внутренние продольные стенки, соединенные с поперечными ребрами с образованием камер. Внутренняя полка профиля выполнена, по меньшей мере, с одним расположенным между наружной и внутренней ее стенками продольным ребром. Внутренняя стенка внутренней полки имеет дугообразную форму или форму двугранного угла, величина которого превышает 90o. Изобретение позволит повысить теплоизоляционные характеристики блоков. 1 з.п. ф-лы, 1 ил.
|