|
На данной странице представлена ознакомительная часть выбранного Вами патента
Для получения более подробной информации о патенте (полное описание, формула изобретения и т.д.) Вам необходимо сделать заказ. Нажмите на «Корзину»
| ПЕТЛЯ С ПОВЫШЕННОЙ НАДЕЖНОСТЬЮ ПРОТИВ ВЗЛОМА |  |
Номер публикации патента: 2178053 |  |
| Редакция МПК: | 7 | | Основные коды МПК: | E05D005/04 | | Аналоги изобретения: | GB 1402487 A1, 06.08.1975. RU 2061825 С1, 10.06.1996. FR 2336536 A1, 22.07.1977. |
| Имя заявителя: | Камынин Юрий Андреевич | | Изобретатели: | Камынин Ю.А. Мухаметов А.А.-Х. Сергеев Е.Н. | | Патентообладатели: | Камынин Юрий Андреевич Мухаметов Ахмет Абдул-Хакович Сергеев Евгений Николаевич |
Реферат |  |
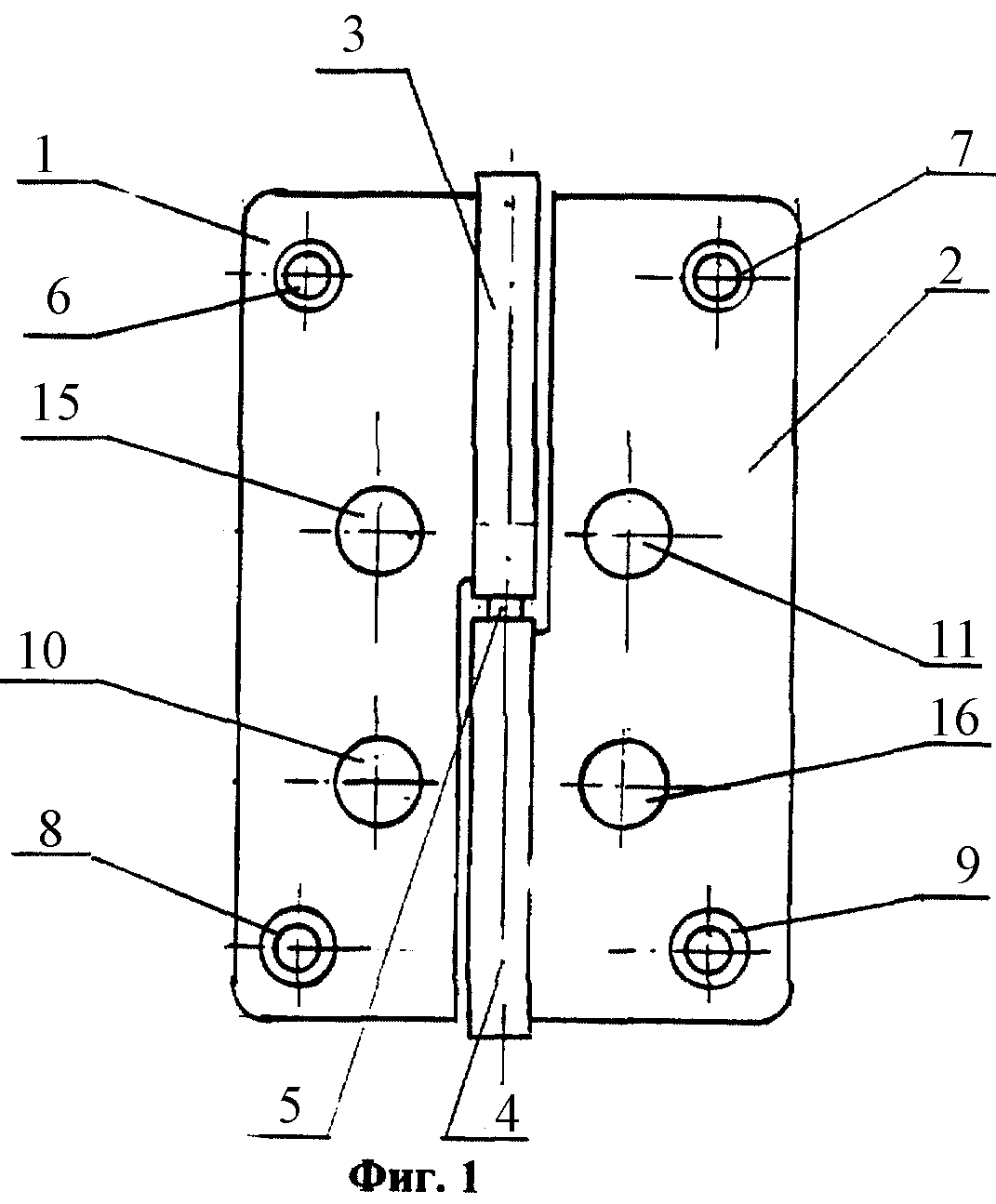
Петля с повышенной надежностью против взлома предназначена для навески входных дверей в жилых и общественных зданиях. В каждой карте выполнены симметричные относительно оси отверстия для установки высокопрочных противовзломных костылей и фиксации карт при закрытом положении петли, образуемой взаимодействующими между собой торцами костылей с кольцевой проточкой на одной карте и соответствующими им отверстиями на другой. Конструкция петли повышает ее защитные свойства по трем направлениям приложения усилий в момент взлома. 4 ил.
|