|
На данной странице представлена ознакомительная часть выбранного Вами патента
Для получения более подробной информации о патенте (полное описание, формула изобретения и т.д.) Вам необходимо сделать заказ. Нажмите на «Корзину»
| ЗАМОК ДВЕРНОЙ МЕХАНИЧЕСКИЙ |  |
Номер публикации патента: 2181424 |  |
| Редакция МПК: | 7 | | Основные коды МПК: | E05C009/00 E05B063/14 | | Аналоги изобретения: | RU 2076197 C1, 27.03.1997. US 5487289 А, 30.01.1996. DE 4403870 А, 10.08.1995. RU 2128275 C1, 27.03.1999. |
| Имя заявителя: | Ярославский государственный технический университет | | Изобретатели: | Украженко О.К. Маланов А.А. | | Патентообладатели: | Ярославский государственный технический университет |
Реферат |  |
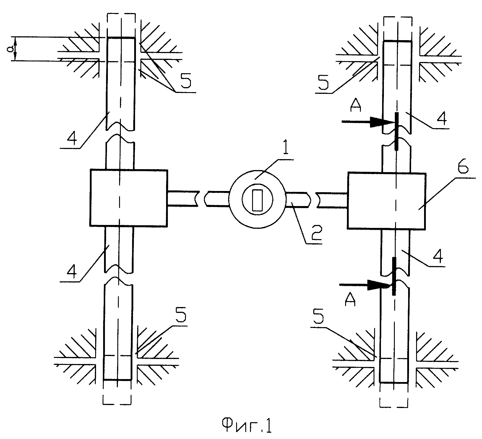
Изобретение относится к области скобяных изделий и касается замка дверного механического, содержащего привод, кинематически связанный посредством тяг и преобразователей движения с ригелями, при этом он содержит по меньшей мере по две пары вертикально и оппозитно установленных ригелей и гнезд, выполненных в виде дверных петель и смонтированных с возможностью открывания дверей последовательно с двух сторон. Данный замок расширяет функциональные возможности по установке дверей. 3 ил.
|