Промышленная Сибирь Ярмарка Сибири Промышленность СФО Электронные торги НОУ-ХАУ Электронные магазины Карта сайта
 
 

Поиск патентов

Как искать?
Реферат
Название
Публикация
Регистрационный номер
Имя заявителя
Имя изобретателя
Имя патентообладателя

    





Оформить заказ и задать интересующие Вас вопросы Вы можете напрямую c 6-00 до 14-30 по московскому времени кроме сб, вс. whatsapp 8-950-950-9888

На данной странице представлена ознакомительная часть выбранного Вами патента

Для получения более подробной информации о патенте (полное описание, формула изобретения и т.д.) Вам необходимо сделать заказ. Нажмите на «Корзину»


АНТИАРИДНОЕ ЗДАНИЕ

Номер публикации патента: 2424404

Вид документа: C1 
Страна публикации: RU 
Рег. номер заявки: 2009148731/03 
  Сделать заказПолучить полное описание патента

Редакция МПК: 
Основные коды МПК: E04H001/00    
Аналоги изобретения: RU 2241103 С2, 27.11.2004. RU 2335609 С2, 10.10.2008. RU 2287649 C1, 20.11.2006. SU 1368416 A1, 23.01.1988. 

Имя заявителя: Федеральное государственное образовательное учреждение высшего профессионального образования "Государственный университет по землеустройству" (RU) 
Изобретатели: Саркисов Сергей Карпович (RU)
Саркисов Аведик Сергеевич (RU)
Микуляева Валерия Владимировна (RU) 
Патентообладатели: Федеральное государственное образовательное учреждение высшего профессионального образования "Государственный университет по землеустройству" (RU) 

Реферат


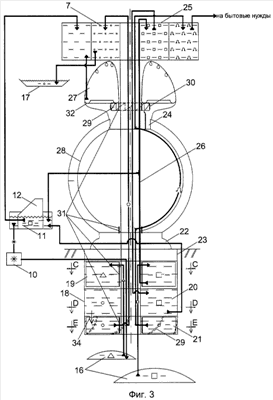
Изобретение относится к строительству, в частности к сооружению жилых комплексов в засушливых зонах. Технический результат: обеспечение возможности заселения населением засушливых районов с комфортной средой обитания. Здание включает жилой блок, теплично-опреснительную установку, водонапорную башню, животноводческую ферму, блок утилизации отходов и гараж, причем жилой блок представляет из себя многоквартирный многоэтажный отсек, ориентированный оконными проемами на южные румбы, объединенный атриумом с отсеком обслуживающих учреждений, при этом над жилым блоком установлены гелиоколлекторы, а плоская кровля здания залита в теплый период года проточной водой, которую в холодный период сливают в расположенный перед жилым блоком пруд, в котором установлены всепогодные прудовые опреснители, покрытые трансформирующимися солнечными панелями, электроэнергия которых направляется в аккумулятор. 13 ил.

Дирекция сайта "Промышленная Сибирь"
Россия, г.Омск, ул.Учебная, 199-Б, к.408А
Сайт открыт 01.11.2000
© 2000-2018 Промышленная Сибирь
Разработка дизайна сайта:
Дизайн-студия "RayStudio"