|
На данной странице представлена ознакомительная часть выбранного Вами патента
Для получения более подробной информации о патенте (полное описание, формула изобретения и т.д.) Вам необходимо сделать заказ. Нажмите на «Корзину»
| СТЫКОВОЕ УСТРОЙСТВО ДЛЯ СОЕДИНЕНИЯ АРМАТУРНЫХ ПУЧКОВ |  |
Номер публикации патента: 2163286 |  |
| Редакция МПК: | 7 | | Основные коды МПК: | E04C005/16 | | Аналоги изобретения: | RU 2094578 С1, 27.10.1997. RU 2143040 С1, 20.12.1999. SU 1629434 А, 23.02.1991. RU 2094577 С1, 27.10.1997. US 4671034 А, 09.06.1987. DE 3224702 А1, 12.01.1984. |
| Имя заявителя: | Открытое акционерное общество "МОСТОТРЕСТ" | | Изобретатели: | Куракин П.П. Коротин В.Н. Чаленко В.В. Дударев С.В. Кришман Б.И. Рудомазин Е.Н. Пустынников В.В. | | Патентообладатели: | Открытое акционерное общество "МОСТОТРЕСТ" |
Реферат |  |
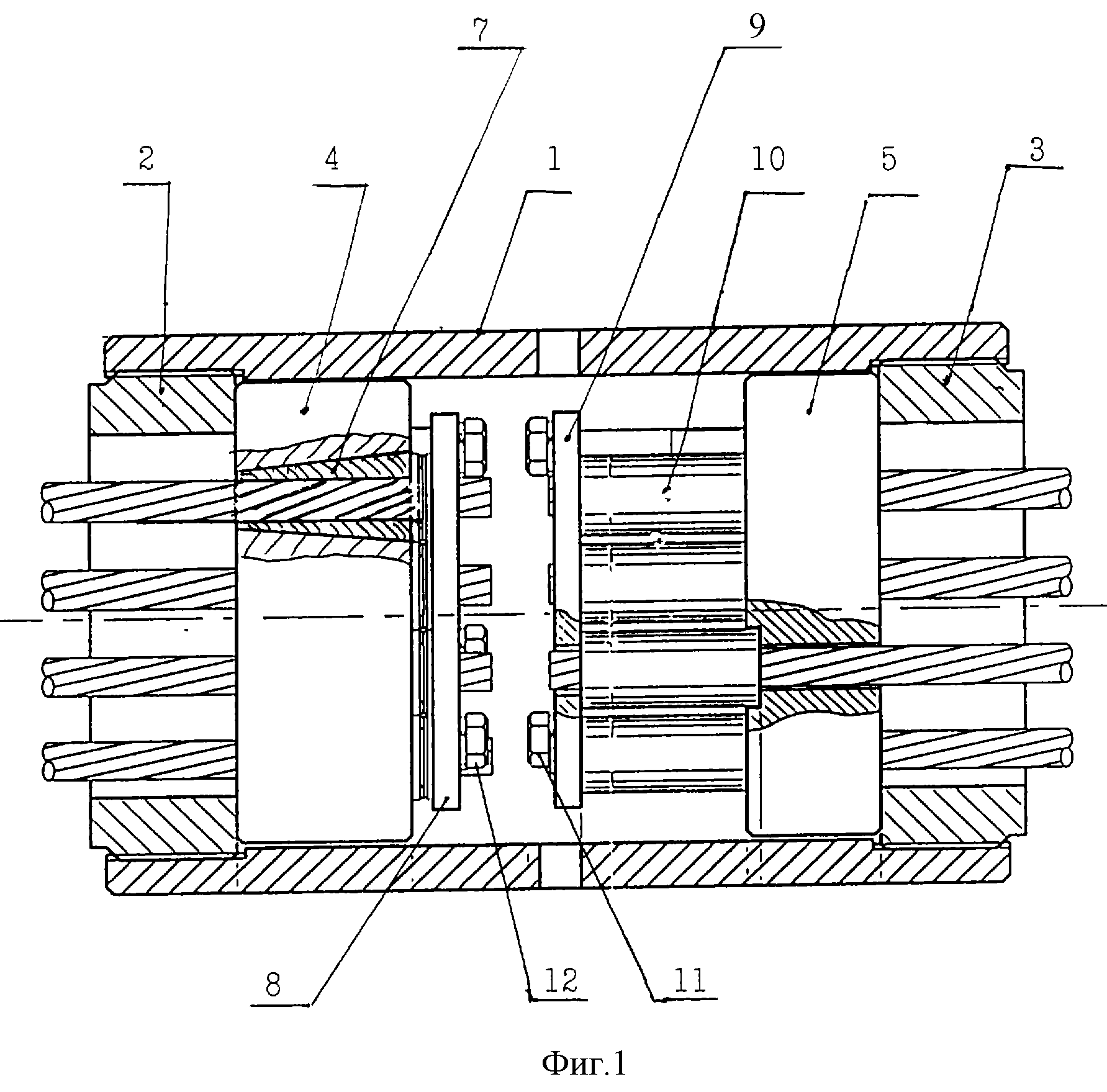
Изобретение относится к области строительства, в частности - к устройствам, используемым в процессе напряжения арматурных прядевых пучков при сооружении железобетонных конструкций, например, пролетных строений многопролетных мостов. Технический результат - повышение надежности работы стыкового устройства. Стыковое устройство для соединения арматурных пучков содержит муфту с центральным отверстием и с внутренними резьбовыми поверхностями с обоих ее концов, в одном из которых установлена гайка с внешней резьбой и с центральным отверстием для прохода натянутого арматурного пучка, а в другом установлена резьбовая крышка с внешней торцевой опорной поверхностью, выступающей за торец муфты, и с центральным отверстием для прохода соединяемого арматурного пучка. В полости муфты свободно размещены две анкерные плиты с отверстиями, из которых размещенная со стороны, обращенной к гайке, имеет конические отверстия, в которых свободно размещены фиксирующие пряди арматуры конические элементы с центральными отверстиями, каждый из которых выполнен в виде, по меньшей мере, трех сегментов, установленных с продольными зазорами между смежными поверхностями. В полости муфты расположены фиксирующие диски, диаметр которых не более 0,95 внутреннего диаметра муфты, и обжимные гильзы, охватывающие пряди арматуры пучка, проходящие через резьбовую крышку, контактирующие торцами с анкерной плитой. Фиксирующие диски поджаты посредством болтовых соединений соответственно к торцам обжимных гильз и конических элементов, продольный зазор между смежными поверхностями сегментов которых не менее 0,005 диаметра их центрального отверстия. 2 ил.
|