Промышленная Сибирь Ярмарка Сибири Промышленность СФО Электронные торги НОУ-ХАУ Электронные магазины Карта сайта
 
 

Поиск патентов

Как искать?
Реферат
Название
Публикация
Регистрационный номер
Имя заявителя
Имя изобретателя
Имя патентообладателя

    





Оформить заказ и задать интересующие Вас вопросы Вы можете напрямую c 6-00 до 14-30 по московскому времени кроме сб, вс. whatsapp 8-950-950-9888

На данной странице представлена ознакомительная часть выбранного Вами патента

Для получения более подробной информации о патенте (полное описание, формула изобретения и т.д.) Вам необходимо сделать заказ. Нажмите на «Корзину»


БЛОК С АДИАБАТИЧЕСКИМ ПРОМЕЖУТКОМ

Номер публикации патента: 2404332

Вид документа: C1 
Страна публикации: RU 
Рег. номер заявки: 2009130104/03 
  Сделать заказПолучить полное описание патента

Редакция МПК: 
Основные коды МПК: E04C001/00    
Аналоги изобретения: RU 2024706 С1, 15.12.1994. KR 100583988 В1, 22.05.2006. DE 2701771 А1, 21.07.1977. WO 99/01625 А1, 14.01.1999. US 5181362 А, 26.01.1993. 

Имя заявителя: БАН Хее-Хуан (KR) 
Изобретатели: БАН Хее-Хуан (KR) 
Патентообладатели: БАН Хее-Хуан (KR) 
Приоритетные данные: 28.12.2006 KR 10-2006-0136052 

Реферат


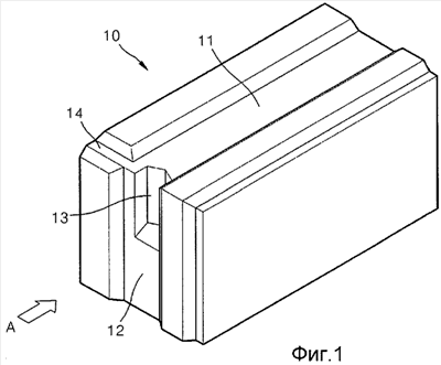
Настоящее изобретение относится к блоку с адиабатическим промежутком, в частности к блоку с адиабатическим промежутком, имеющему улучшенную конструкцию, кладка которого осуществляется достаточно легко, причем в процессе возведения стены не образуется щелей между блоками. Блок с адиабатическим промежутком включает первый паз для раствора, выполненный на верхней стороне блока вдоль нее между верхними краями; второй паз для раствора, выполненный, по крайней мере, на одной вертикальной боковой стороне блока вдоль нее. Паз для раствора и шпильки, выполненный во втором пазе для раствора, который начинается от верхнего углового края второго паза для раствора и вытянут к нижнему краю второго паза для раствора, и который выполнен с возможностью введения в него распылительной трубки полиуретанового пистолета. Паз для тела шпильки, выполненный на участке у пересечения первого паза для раствора и паза для раствора и шпильки, который предназначен для размещения тела соединительной шпильки, вставляемой в паз для раствора и шпильки. Технический результат: снижение себестоимости строительства. 4 з.п. ф-лы, 11 ил.

Дирекция сайта "Промышленная Сибирь"
Россия, г.Омск, ул.Учебная, 199-Б, к.408А
Сайт открыт 01.11.2000
© 2000-2018 Промышленная Сибирь
Разработка дизайна сайта:
Дизайн-студия "RayStudio"