Промышленная Сибирь Ярмарка Сибири Промышленность СФО Электронные торги НОУ-ХАУ Электронные магазины Карта сайта
 
 

Поиск патентов

Как искать?
Реферат
Название
Публикация
Регистрационный номер
Имя заявителя
Имя изобретателя
Имя патентообладателя

    





Оформить заказ и задать интересующие Вас вопросы Вы можете напрямую c 6-00 до 14-30 по московскому времени кроме сб, вс. whatsapp 8-950-950-9888

На данной странице представлена ознакомительная часть выбранного Вами патента

Для получения более подробной информации о патенте (полное описание, формула изобретения и т.д.) Вам необходимо сделать заказ. Нажмите на «Корзину»


МАТЕРЧАТАЯ ПОДЪЕМНАЯ ШТОРА

Номер публикации патента: 2456415

Вид документа: C1 
Страна публикации: RU 
Рег. номер заявки: 2011100381/12 
  Сделать заказПолучить полное описание патента

Редакция МПК: 
Основные коды МПК: E04B001/342   E06B003/01    
Аналоги изобретения: SE 506664 С2, 26.01.1998. US 6145568 А, 14.11.2000. FI 920806 A, 27.08.1992. EP 0033199 A1, 05.08.1981. WO 1992013162 A1, 06.08.1992. 

Имя заявителя: Жуков Антон Борисович (RU),
Новиков Сергей Викторович (RU) 
Изобретатели: Жуков Антон Борисович (RU)
Новиков Сергей Викторович (RU) 
Патентообладатели: Жуков Антон Борисович (RU)
Новиков Сергей Викторович (RU) 

Реферат


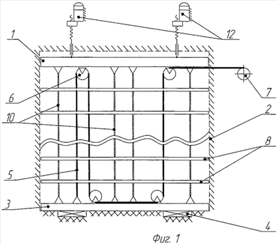
Изобретение относится к области строительства, а более конкретно к устройствам для перекрытия крупноразмерных проемов, в основном производственных помещений, т.е. цехов различного назначения, складских ангаров, эллингов для хранения, стоянки и ремонта транспортных средств, например, таких как самолеты, морские и речные суда и т.п. Технический результат заключается в повышении надежности работы шторы за счет увеличения ее прочностных возможностей. Сущность изобретения состоит в том, что в матерчатой подъемной шторе, образованной парой несущих верхней и нижней балок, а также рядом, параллельно балкам, установленных погонажных элементов жесткости, связанных матерчатыми полотнами, введена между балками дополнительная связь в виде вертикальных распределенных по их длине тросов. При этом верхняя балка установлена подвижно и связана со строением через натяжное устройство в виде актюатора. 5 з.п. ф-лы, 3 ил.

Дирекция сайта "Промышленная Сибирь"
Россия, г.Омск, ул.Учебная, 199-Б, к.408А
Сайт открыт 01.11.2000
© 2000-2018 Промышленная Сибирь
Разработка дизайна сайта:
Дизайн-студия "RayStudio"