Промышленная Сибирь Ярмарка Сибири Промышленность СФО Электронные торги НОУ-ХАУ Электронные магазины Карта сайта
 
 

Поиск патентов

Как искать?
Реферат
Название
Публикация
Регистрационный номер
Имя заявителя
Имя изобретателя
Имя патентообладателя

    





Оформить заказ и задать интересующие Вас вопросы Вы можете напрямую c 6-00 до 14-30 по московскому времени кроме сб, вс. whatsapp 8-950-950-9888

На данной странице представлена ознакомительная часть выбранного Вами патента

Для получения более подробной информации о патенте (полное описание, формула изобретения и т.д.) Вам необходимо сделать заказ. Нажмите на «Корзину»


МНОГОСЛОЙНЫЙ ЭЛЕМЕНТ ДЛЯ ЗВУКОПОГЛОЩАЮЩЕЙ ВНУТРЕННЕЙ ОБШИВКИ ТРАНСПОРТНОГО СРЕДСТВА, ПРЕИМУЩЕСТВЕННО САМОЛЕТА

Номер публикации патента: 2413654

Вид документа: C2 
Страна публикации: RU 
Рег. номер заявки: 2008151148/11 
  Сделать заказПолучить полное описание патента

Редакция МПК: 
Основные коды МПК: B64C001/40   G10K011/172   E04B001/88    
Аналоги изобретения: RU 2249258 С2, 27.03.2005. RU 2151839 С1, 27.06.2000. ЕР 0246464 А1, 25.11.1987. RU 2274710 С2, 20.04.2006. SU 1535905 А1, 15.01.1990. US 4339018, 13.07.1982. 

Имя заявителя: ЭЙРБАС ДОЙЧЛАНД ГМБХ (DE) 
Изобретатели: ХЁТЦЕЛЬД Штефан (DE)
ШИНДЛЕР Оливер (DE)
ЭРФЮРТ Штеффен (DE)
ОЛЕНДОРФ Бернд (DE) 
Патентообладатели: ЭЙРБАС ДОЙЧЛАНД ГМБХ (DE) 

Реферат


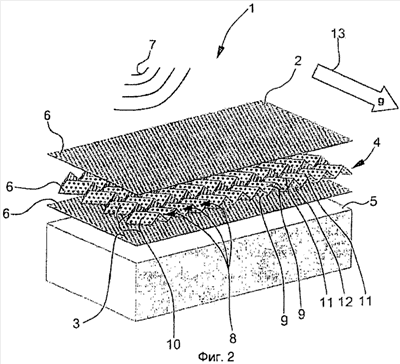
Изобретение относится к многослойному элементу для звукопоглощающей внутренней обшивки транспортного средства. Многослойный элемент для звукопоглощающей обшивки самолета содержит трехмерный сердечник, который расположен между двумя покровными слоями, которые идут главным образом параллельно с промежутком друг от друга. Сердечник и оба покровных слоя имеют множество проходов для передачи звука в виде перфораций. Сердечник имеет множество сквозных каналов, расположенных рядом друг с другом и параллельно покровным слоям, для дренажа жидкостей и вымывания посторонних объектов. Сквозной канал имеет зигзагообразную линию вершины и зигзагообразную боковую линию, и боковые стороны, которые образованы за счет множества главным образом плоских или изогнутых поверхностей, которые примыкают друг к другу под углом меньше чем 180°. Слой звукопоглощения расположен частично в области покровного слоя. Достигается улучшение звукопоглощения внутренней обшивки транспортного средства. 7 з.п. ф-лы, 4 ил.

Дирекция сайта "Промышленная Сибирь"
Россия, г.Омск, ул.Учебная, 199-Б, к.408А
Сайт открыт 01.11.2000
© 2000-2018 Промышленная Сибирь
Разработка дизайна сайта:
Дизайн-студия "RayStudio"