|
На данной странице представлена ознакомительная часть выбранного Вами патента
Для получения более подробной информации о патенте (полное описание, формула изобретения и т.д.) Вам необходимо сделать заказ. Нажмите на «Корзину»
| СОЕДИНИТЕЛЬНЫЙ УЗЕЛ ЖЕЛЕЗОБЕТОННЫХ КАНАЛИЗАЦИОННЫХ ТРУБ |  |
Номер публикации патента: 2179611 |  |
| Редакция МПК: | 7 | | Основные коды МПК: | E03F003/04 F16L013/00 | | Аналоги изобретения: | КАЛИЦУН В.И. и др. Основы гидравлики, водоснабжения и канализации. - М.: Издательство литературы по строительству, 1972, с.202-203, рис.III.17. SU 155069 А, 20.07.1963. SU 745382 A, 30.06.1980. SU 804797 A, 15.02.1981. СН 679786 А5, 15.04.1992. DE 4141238 A1, 27.05.1992. FR 2208081 A, 21.06.1974. КАЛИЦУН В.И. и др. Основы гидравлики, водоснабжения и канализации. - М.: Издательство литературы по строительству, 1972 , с. 158, рис.II.56. |
| Имя заявителя: | Российский университет дружбы народов | | Изобретатели: | Калашников А.А. | | Патентообладатели: | Российский университет дружбы народов |
Реферат |  |
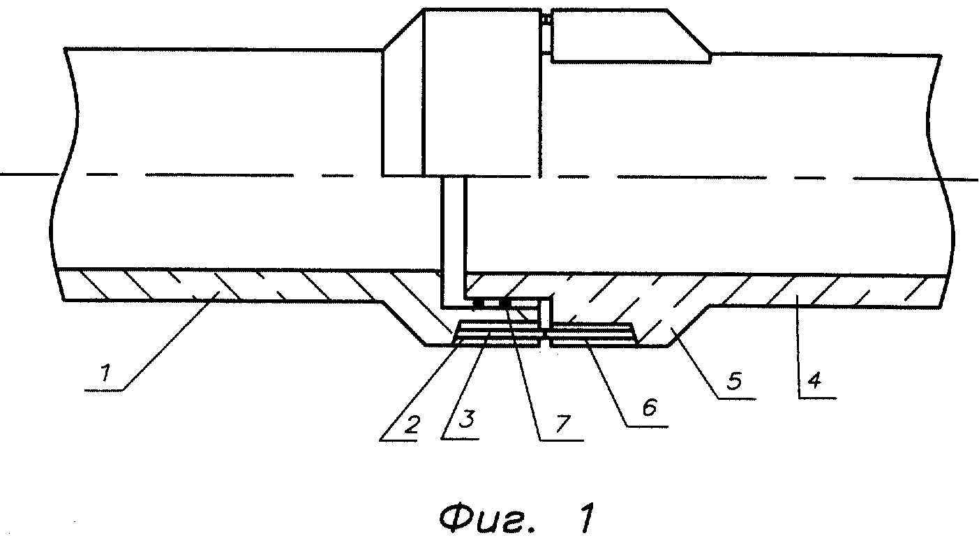
Изобретение относится к системам трубопроводов. Технический результат заключается в предотвращении разъединения труб и повышении надежности канализационных трубопроводов. Узел содержит раструб, хвостовик и уплотнение. В раструбе выполнены гнезда. Хвостовик имеет выступы, в которых выполнены гнезда. При этом гнезда раструба и выступов хвостовика расположены попарно симметрично и диаметрально противоположно друг другу и в них сделаны выпуски стержней арматуры. Гнезда выступов хвостовика совмещены с гнездами раструба, в которых выпуски стержней арматуры соединены между собой. 5 ил.
|