|
На данной странице представлена ознакомительная часть выбранного Вами патента
Для получения более подробной информации о патенте (полное описание, формула изобретения и т.д.) Вам необходимо сделать заказ. Нажмите на «Корзину»
| СМЫВНОЕ ПОЛУАВТОМАТИЧЕСКОЕ УСТРОЙСТВО К УНИТАЗНОМУ БАЧКУ |  |
Номер публикации патента: 2162125 |  |
| Редакция МПК: | 7 | | Основные коды МПК: | E03D001/34 E03D005/10 F16K031/02 | | Аналоги изобретения: | FR 2681891 A1, 02.04.1993. SU 724659 A, 30.03.1980. SU 1372142 A, 07.02.1988. RU 2011172 C1, 15.04.1994. |
| Имя заявителя: | Плачковский Виктор Владимирович | | Изобретатели: | Плачковский В.В. | | Патентообладатели: | Плачковский Виктор Владимирович |
Реферат |  |
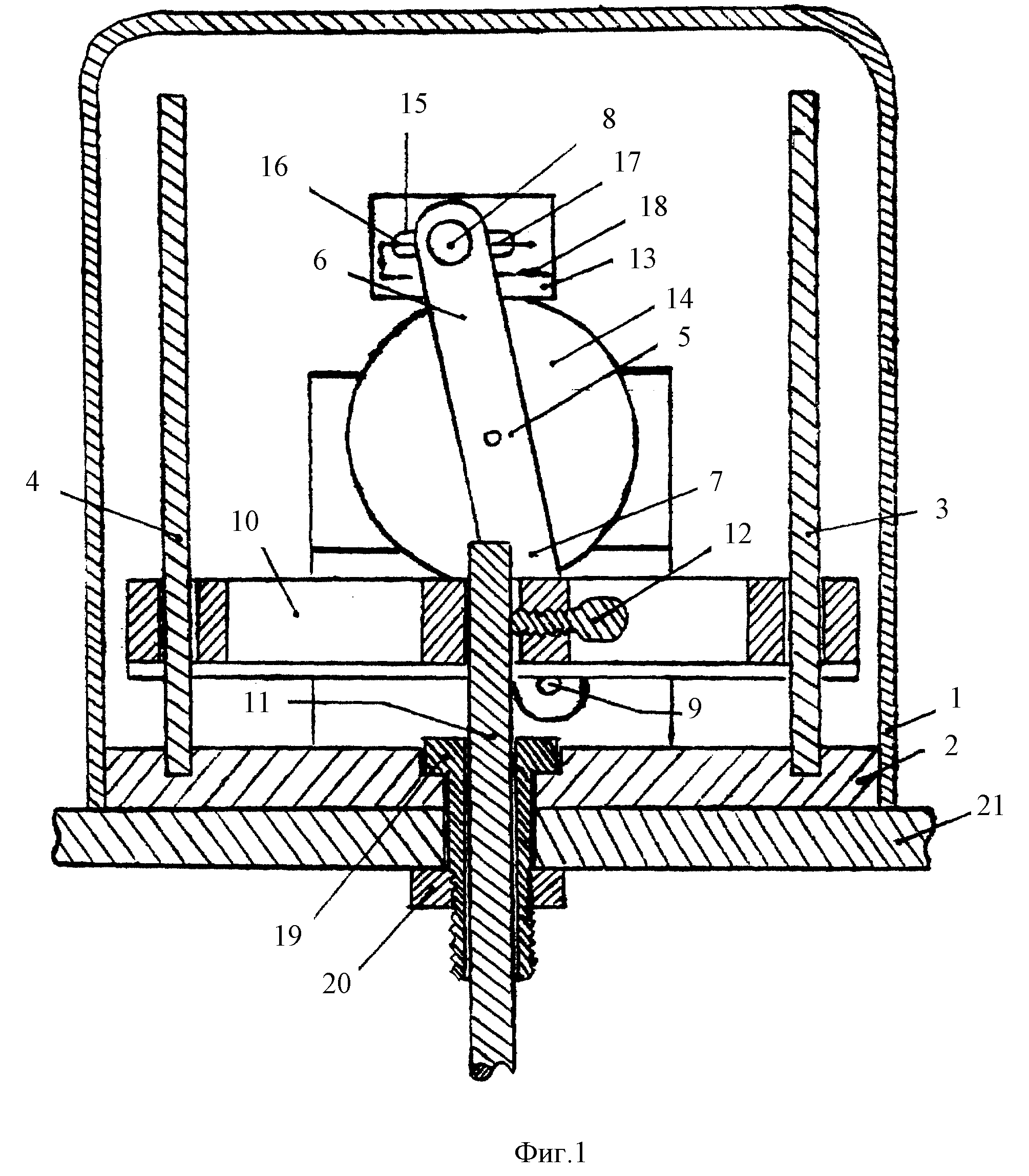
Изобретение относится к санитарной технике, а именно к устройствам для промывки туалетов. Технический результат изобретения заключается в обеспечении надежности в эксплуатации смывного устройства и повышении удобства при его использовании. Смывное полуавтоматическое устройство к унитазному бачку содержит корпус, рычаг для вытягивания поводка, пусковое нажимное устройство и электрооборудование, при этом рычаг для вытягивания поводка выполнен двуплечим, на одной его оси установлен магнит для взаимодействия с герконом, установленным на электрооборудовании, а на другой оси рычага установлен неподвижный узел, выполненный в виде штока для взаимодействия с подвижной планкой. Подвижная планка установлена на направляющих с возможностью передвижения по ним вместе с поводком. На центральной оси планки имеется приспособление для закрепления поводка при подъеме и опускании планки с поводком в исходное положение. Пусковое нажимное устройство выполнено в виде кнопки для возможности кратковременного соединения электроцепи. 1 з.п.ф-лы, 3 ил.
|