Промышленная Сибирь Ярмарка Сибири Промышленность СФО Электронные торги НОУ-ХАУ Электронные магазины Карта сайта
 
 

Поиск патентов

Как искать?
Реферат
Название
Публикация
Регистрационный номер
Имя заявителя
Имя изобретателя
Имя патентообладателя

    





Оформить заказ и задать интересующие Вас вопросы Вы можете напрямую c 6-00 до 14-30 по московскому времени кроме сб, вс. whatsapp 8-950-950-9888

На данной странице представлена ознакомительная часть выбранного Вами патента

Для получения более подробной информации о патенте (полное описание, формула изобретения и т.д.) Вам необходимо сделать заказ. Нажмите на «Корзину»


МОЕЧНОЕ УСТРОЙСТВО И СПОСОБ ЕГО ЭКСПЛУАТАЦИИ

Номер публикации патента: 2439251

Вид документа: C2 
Страна публикации: RU 
Рег. номер заявки: 2008125322/13 
  Сделать заказПолучить полное описание патента

Редакция МПК: 
Основные коды МПК: E03C001/04    
Аналоги изобретения: DE 10004534 А1, 16.08.2001. US 4262372 А, 21.04.1981. WO 2004/101163 А1, 25.11.2004. US 4393525 А, 19.07.1983. 

Имя заявителя: КРЕАХОЛИК С.А. (CH) 
Изобретатели: МОК Эльмар (CH)
КЛОПФЕНШТАЙН Андре (CH)
ТОРРИАНИ Лоран (CH) 
Патентообладатели: КРЕАХОЛИК С.А. (CH) 
Приоритетные данные: 29.11.2005 CH 1890/05 

Реферат


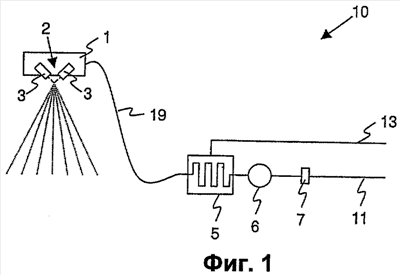
Моечное устройство 10 предназначено для подачи воды в санитарно-технических установках, в частности в душе или в умывальнике. Устройство содержит, по меньшей мере, один выпускной элемент 1 для разбрызгивания текучих сред при низком расходе и повышенном давлении, и, по меньшей мере, одно нагнетающее 6 устройство для повышения давления текучей среды перед разбрызгиванием до рабочего давления в выпускном элементе. При этом выпускной элемент 1 содержит одну или две группы форсунок 3, причем каждая группа содержит по меньшей мере две форсунки 3, предпочтительно, три форсунки 3 для создания сталкивающихся струй текучей среды и для распыления текучей среды или текучих сред. Способ эксплуатации устройства 10 содержит увеличение давления воды или текучей среды до рабочего давления выпускного элемента 1 и разбрызгивание воды или текучей среды посредством выпускного элемента 1 при повышенном давлении и низком расходе. Для разбрызгивания воды или текучей среды создают по меньшей мере две соударяющиеся друг с другом струи посредством только одной группы форсунок 3 выпускного элемента 1 с, по меньшей мере, двумя форсунками 3, предпочтительно, тремя. Изобретение обеспечивает снижение потребления воды и электроэнергии и упрощение использования. 2 н. и 34 з.п. ф-лы, 26 ил.

Дирекция сайта "Промышленная Сибирь"
Россия, г.Омск, ул.Учебная, 199-Б, к.408А
Сайт открыт 01.11.2000
© 2000-2018 Промышленная Сибирь
Разработка дизайна сайта:
Дизайн-студия "RayStudio"