|
На данной странице представлена ознакомительная часть выбранного Вами патента
Для получения более подробной информации о патенте (полное описание, формула изобретения и т.д.) Вам необходимо сделать заказ. Нажмите на «Корзину»
| СИСТЕМА ВОДОСНАБЖЕНИЯ |  |
Номер публикации патента: 2172376 |  |
| Редакция МПК: | 7 | | Основные коды МПК: | E03B001/04 E03C001/00 | | Аналоги изобретения: | RU 2083769 C1, 10.07.1997. SU 1813854 A1, 07.05.1993. RU 94026922 A1, 27.05.1996. РЕПИН Н.Н. Санитарно-технические устройства зданий. - М.: Государственное издательство литературы по строительству и архитектуре, 1957, с. 6 - 13. |
| Имя заявителя: | Курский государственный технический университет | | Изобретатели: | Викторов Г.В. Кобелев Н.С. | | Патентообладатели: | Курский государственный технический университет |
Реферат |  |
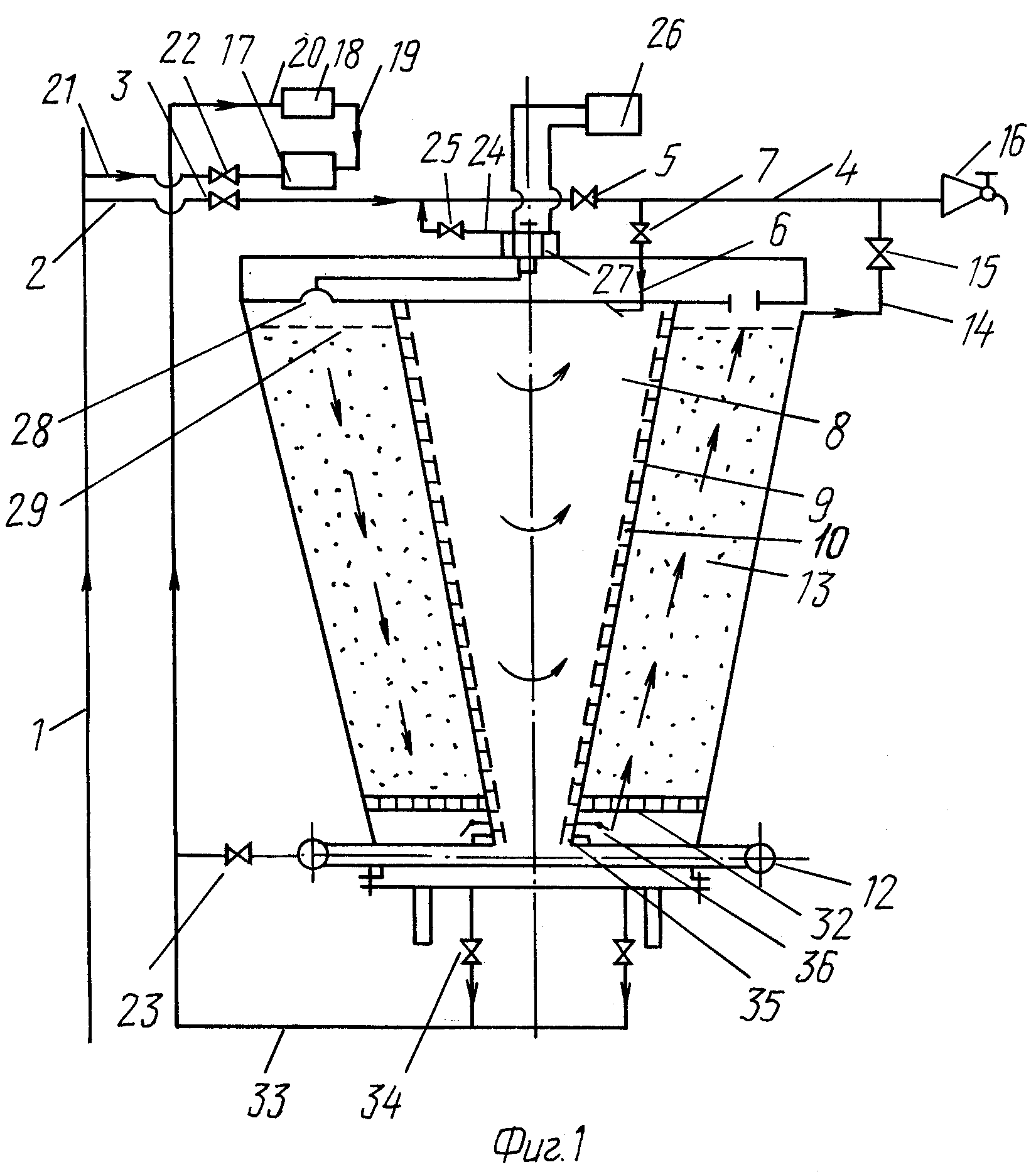
Изобретение может быть применено для подачи воды в жилые и административные здания. Техническим результатом является повышение качества доочищенной воды за счет усовершенствования конструкции установки и обеспечение контроля качества воды. Система содержит распределительный трубопровод, соединенный посредством подводящих трубопроводов с размещенным на каждом смывном бачке водоразборным краном и резервуаром с периодическим выпуском воды, насадки, отводящий трубопровод, очистное устройство на подводящем трубопроводе, состоящее из входной части, выполненной в виде суживающейся насадки с внутренними криволинейными направляющими и наружной кольцевой полостью, и отводящего трубопровода, фильтрующую часть, заполненную загрузкой, обеспечивающей химическую и биологическую доочистку воды. Отводящий трубопровод очистного устройства и наружная кольцевая полость соединены с резервуаром периодического выпуска воды. В очистном устройстве на внутренней его полости установлена виброловушка, фильтрующая часть размещена вокруг очистного устройства и разделена радиальными перегородками на четыре камеры, каждая из которых заполнена послойно загрузкой разного назначения. В верхней ее части предусмотрены защитная сетка и переключатель-регулятор. Для контроля количества и качества воды в системе предусмотрен пункт управления. 3 ил.
|