|
На данной странице представлена ознакомительная часть выбранного Вами патента
Для получения более подробной информации о патенте (полное описание, формула изобретения и т.д.) Вам необходимо сделать заказ. Нажмите на «Корзину»
| СПОСОБ ФОРМООБРАЗОВАНИЯ ТРАНШЕЙ ДЛЯ УКЛАДКИ ВОЛОКОННО - ОПТИЧЕСКОГО КАБЕЛЯ |  |
Номер публикации патента: 2161677 |  |
| Редакция МПК: | 7 | | Основные коды МПК: | E02F005/02 | | Аналоги изобретения: | US 3952532 А, 27.04.1976. SU 327303 А, 20.03.1972. SU 1421888 А1, 07.09.1988. SU 181010 А, 30.05.1966. SU 290089 А, 12.02.1971. SU 463767 А, 12.11.1975. SU 697648 А, 15.11.1979. US 3461577 А, 19.08.1969. |
| Имя заявителя: | Кузьмин Виктор Иванович | | Изобретатели: | Кузьмин В.И. | | Патентообладатели: | Кузьмин Виктор Иванович |
Реферат |  |
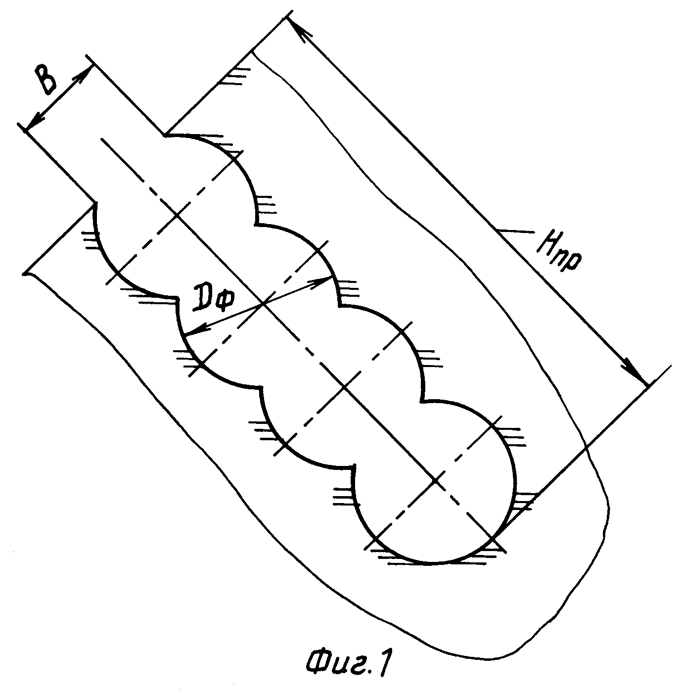
Изобретение относится к геологическим изысканиям и может быть использовано для наземных и подводных работ, осуществляемых при прокладке кабелей волоконно-оптической системы. Задачей изобретения является повышение производительности и технологических возможностей. Способ формообразования траншей для укладки волоконно-оптического кабеля включает сообщение подачи и вращения инструменту. После достижения требуемой глубины врезания подачу на врезание прекращают и сообщают инструменту продольную подачу. Инструменты, которые установлены в шпиндельных головках гидронасосов, расположены ступенчато, перекрывают друг друга, имеют одинаковый диаметр и единый угол наклона для всех режущих пластин инструмента. Их попарно вращают в оппозитных направлениях. Диаметральные части гидронасосов и поворотная ступенчатая опора, равная по ширине диаметру гидронасоса, имеют меньший размер, чем минимальная ширина траншеи. Выход блока инструментов из грунта осуществляют при обратной подаче блока инструментов с разрушением созданного многопетрахоидного профиля за счет дробления и срезания его кромками выемок с режущим профилем, выполненным по периферии инструментальных корпусов. Число инструментов выбирают таким, чтобы зона перекрытия рабочими кромками грунта варьировала в пределах 80 - 68%, причем указанное поле взаимодействия по максимуму остается для крайних, а по минимуму - для всех промежуточных инструментов, установленных по ступенчатой схеме резания. 2 ил.
|