|
На данной странице представлена ознакомительная часть выбранного Вами патента
Для получения более подробной информации о патенте (полное описание, формула изобретения и т.д.) Вам необходимо сделать заказ. Нажмите на «Корзину»
| СПОСОБ ВЫЯВЛЕНИЯ ГЕОДИНАМИЧЕСКИХ ДВИЖЕНИЙ В ГРУНТЕ И ЗАЩИТЫ ОТ НИХ НАДЗЕМНЫХ МЕТАЛЛОКОНСТРУКЦИЙ |  |
Номер публикации патента: 2165498 |  |
| Имя заявителя: | Государственный институт по проектированию оснований и фундаментов "Фундаментпроект" | | Изобретатели: | Михальчук В.А. Селюков Е.И. Кольцов Е.М. | | Патентообладатели: | Государственный институт по проектированию оснований и фундаментов "Фундаментпроект" |
Реферат |  |
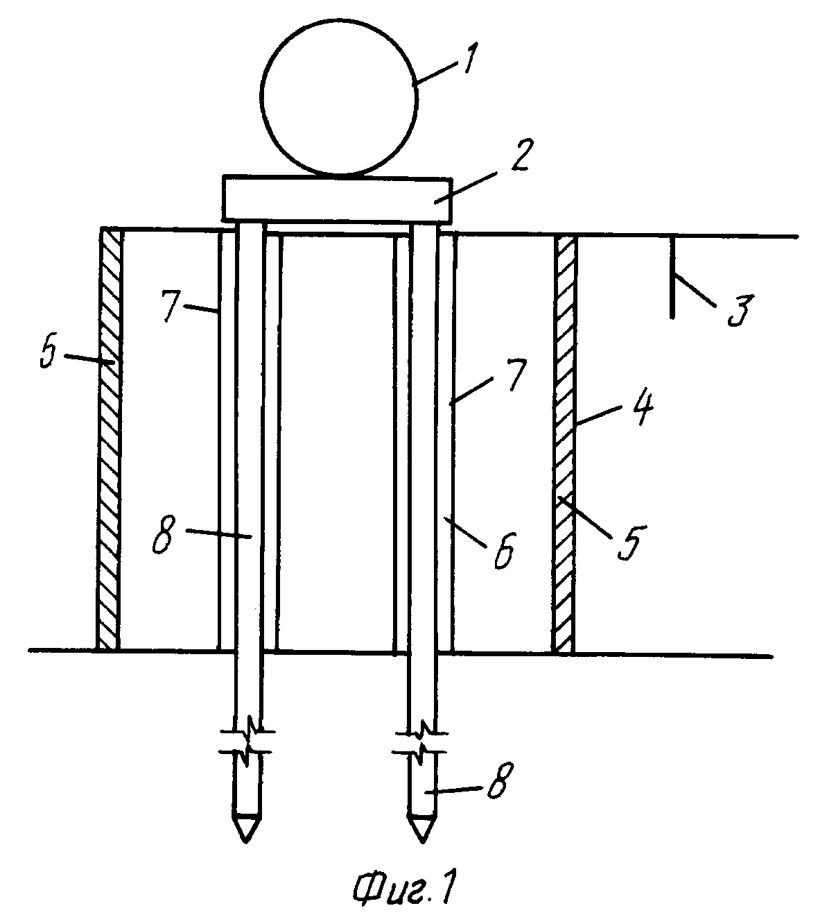
Изобретение относится к области строительства. Способ выявления геодинамических движений в грунте и защиты от них надземных металлоконструкций, например трубопровода, состоит в том, что выбуривают по трассе трубопровода ряд скважин на определенную глубину с определенным шагом, отбирают пробу почвенного воздуха, по которой определяют наличие торона, радона и коррозирующих газов, и выделяют аномальные участки. После этого в зоне аномальных участков по ходу трубопровода с опорами выполняют ряд замкнутых круговых прорезей глубиной до недеформируемых коренных пород, после чего прорези заполняют вязким нетвердеющим материалом, а под опорами трубопровода выбуривают несколько скважин, в которые устанавливают кожухи, внутри которых размещают сваи, а свободное пространство между ними заполняют также вязким нетвердеющим материалом. Технический результат, обеспечиваемый изобретением, состоит в том, что обеспечивается защита надземного трубопровода от периодических движений грунта в пределах разрывных нарушений геодинамических зон. 1 з.п. ф-лы, 2 ил.
|