Промышленная Сибирь Ярмарка Сибири Промышленность СФО Электронные торги НОУ-ХАУ Электронные магазины Карта сайта
 
 

Поиск патентов

Как искать?
Реферат
Название
Публикация
Регистрационный номер
Имя заявителя
Имя изобретателя
Имя патентообладателя

    





Оформить заказ и задать интересующие Вас вопросы Вы можете напрямую c 6-00 до 14-30 по московскому времени кроме сб, вс. whatsapp 8-950-950-9888

На данной странице представлена ознакомительная часть выбранного Вами патента

Для получения более подробной информации о патенте (полное описание, формула изобретения и т.д.) Вам необходимо сделать заказ. Нажмите на «Корзину»


ЗАЩИТНАЯ ПРОКЛАДКА ГЕОМЕМБРАНЫ

Номер публикации патента: 2468145

Вид документа: C1 
Страна публикации: RU 
Рег. номер заявки: 2011125926/13 
  Сделать заказПолучить полное описание патента

Редакция МПК: 
Основные коды МПК: E02B003/06   E02D017/20    
Аналоги изобретения: RU 2394962 C1, 20.07.2010. US 20080003059 A1, 03.01.2008. SU 1740554 A1, 15.06.1992. RU 2376416 C1, 20.12.2009. JP 56016731 A, 18.02.1981. KR 20020077323 A, 11.10.2002. 

Имя заявителя: Путивский Сергей Андреевич (RU) 
Изобретатели: Путивский Сергей Андреевич (RU)
Мордвинов Андрей Валентинович (RU)
Ягин Василий Петрович (RU) 
Патентообладатели: Путивский Сергей Андреевич (RU) 

Реферат


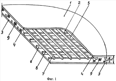
Изобретение относится к области гидротехнического строительства и может быть использовано при расположении противофильтрационной геомембраны в грунтах. Защитная прокладка 1 геомембраны 19 содержит геосетку 2 из полимерного материала и прикрепленный с двух сторон к ней геотекстиль 3 и 4. Ячейки 5 геосетки 2 образованы наложенными друг на друга пересекающимися прутками 6 и 7. Прутки 6 и 7 размещены относительно толщины с геосетки 2 в двух уровнях и скреплены в узлах пересечения друг с другом 8. Толщина п прокладки 1 определяется высотой в поперечном сечении прутков 6 и 7 и толщины геотекстиля 3 и 4. Ячейки 5 заполнены полимерной пеной 9, которая затвердевает. Ячейки 5 также могут быть заполнены полиуретановой пеной или пеной из поливинилхлоридных нанокомпозитов. Повышается надежность защиты геомембраны от прокалывания. 2 з.п. ф-лы, 3 ил.

Дирекция сайта "Промышленная Сибирь"
Россия, г.Омск, ул.Учебная, 199-Б, к.408А
Сайт открыт 01.11.2000
© 2000-2018 Промышленная Сибирь
Разработка дизайна сайта:
Дизайн-студия "RayStudio"